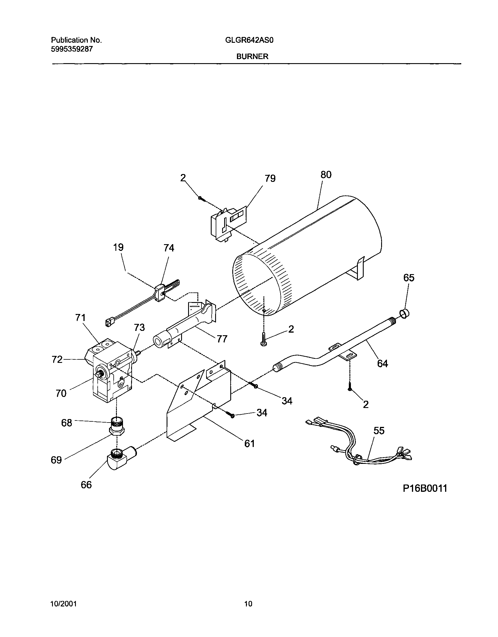
GLGR642AS0 11 – BURNER,VALVEadmin2025-04-26T11:41:11+00:00GLGR642AS0 11 – BURNER,VALVE ProductsPositionProductNIKIT-LP2131168200 Frigidaire Dryer Screw19131715500 Frigidaire Clip34131243700 Frigidaire Screw55WCI 13182710061WCI 13141870164WCI 53032868736508015112 Frigidaire CAP66WCI 13151200068TAIL PIECE69NUT-HEX UNION70DRYER GAS VALVE715303931775 Frigidaire Dryer Coil Kit735303207410 Frigidaire Orifice745303937186 Frigidaire Dryer Flat Igniter Assembly77WCI 131762900795303281135 Frigidaire Gas Dryer Flame Sensor Radiant80WCI 131904600