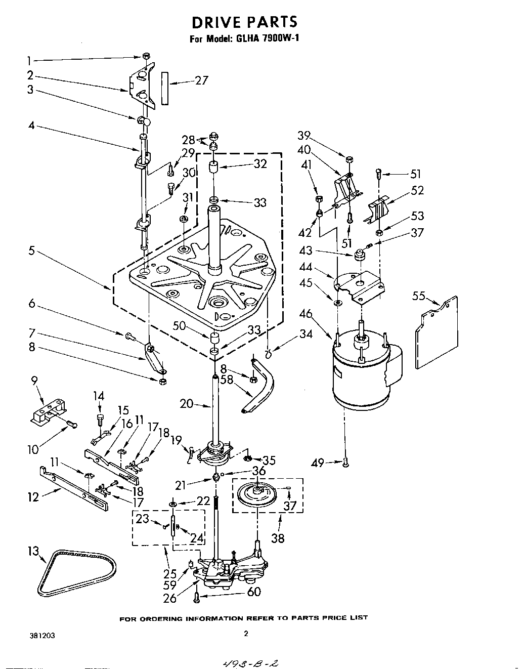
GLHA7900W1 02 – DRIVE