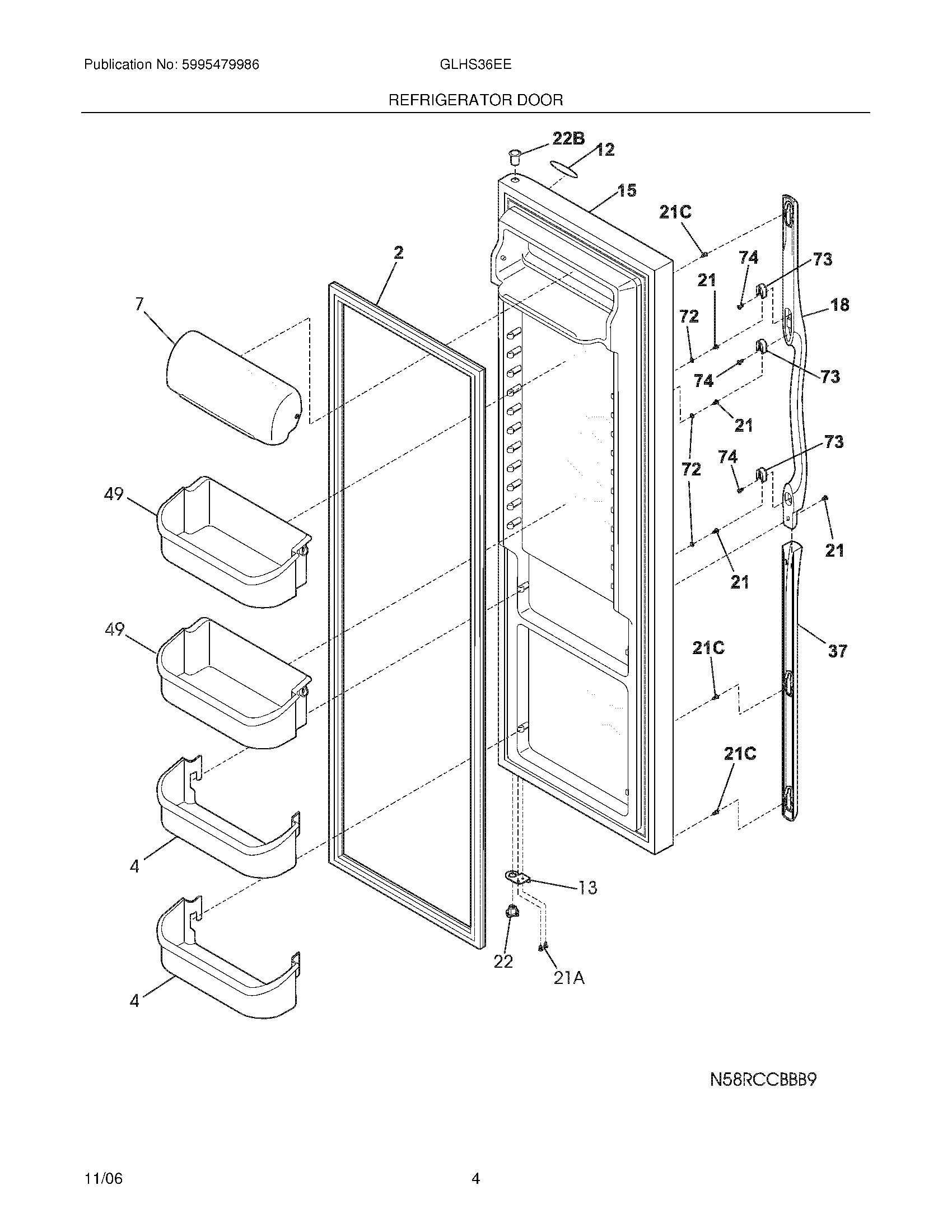
GLHS36EEB6 05 – REFRIGERATOR DOORadmin2025-04-26T10:43:38+00:00GLHS36EEB6 05 – REFRIGERATOR DOOR ProductsPositionProduct2GASKET-DOOR42 LITER DOOR BIN7240338313 Frigidaire Refrigerator Dairy Door12WCI 24044971013240581905 Frigidaire Refrigerator Door Stop15WCI 24045191918WCI 24171170221218781101 Frigidaire Handle Screw21CWCI 24052130421A240598402 Frigidaire Refrigerator Screw22240328203 Frigidaire Refrigerator Door Hinge Bearing22B240328404 Frigidaire Refrigerator Upper Door Hinge Bearing37WCI 24171160249240324502 Frigidaire Gallon Door Shelf Bin72WCI 24042170173218396700 Frigidaire Door Handle Mounting Block74WCI 215503204