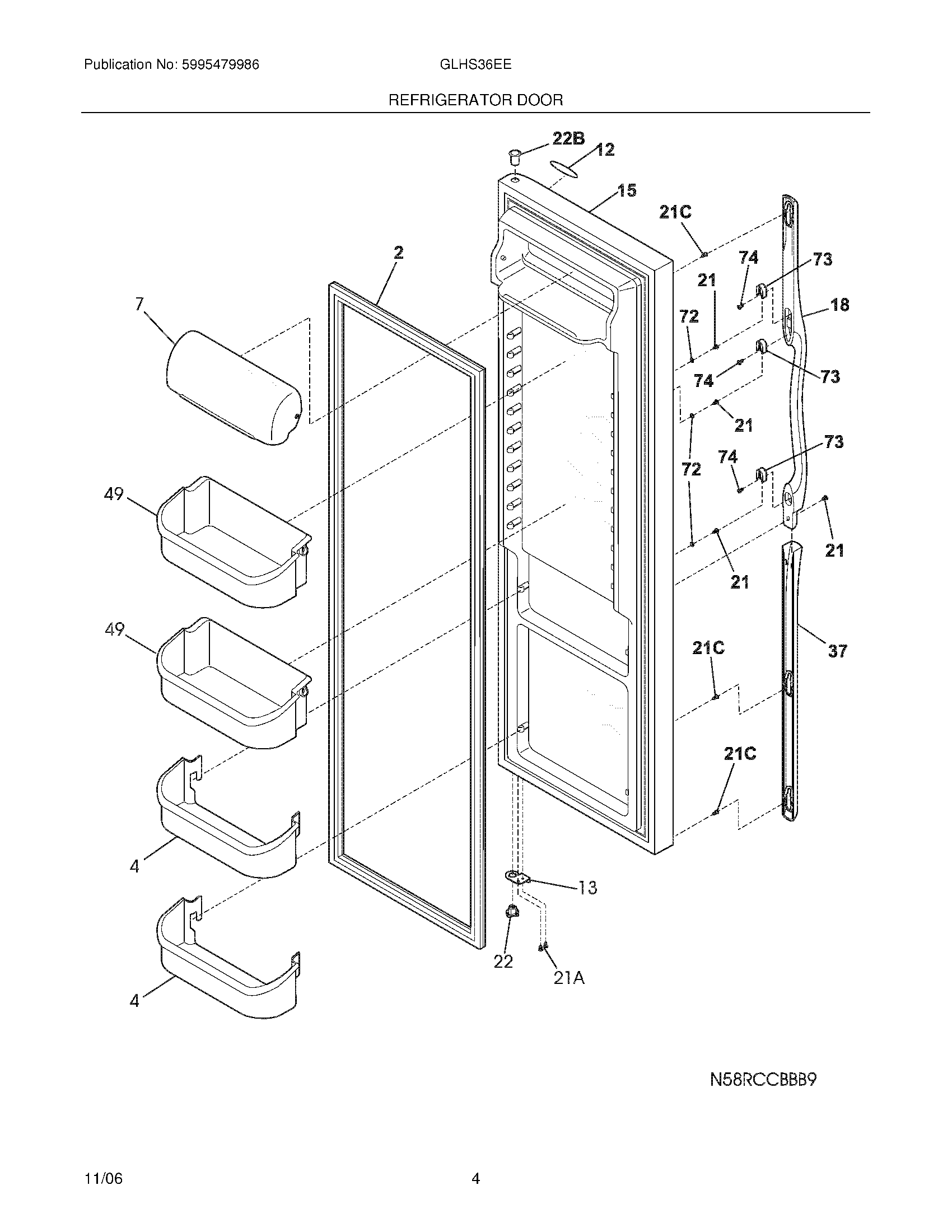
GLHS36EEQ6 05 – REFRIGERATOR DOORadmin2025-04-26T10:42:31+00:00GLHS36EEQ6 05 – REFRIGERATOR DOOR ProductsPositionProduct2GASKET-DOOR42 LITER DOOR BIN7240338313 Frigidaire Refrigerator Dairy Door12WCI 24044970913WCI 24058190315WCI 24045191718WCI 24171170321A240598402 Frigidaire Refrigerator Screw21CWCI 24052130421218781101 Frigidaire Handle Screw22240328201 Frigidaire Refrigerator Hinge Bearing22B240328402 Frigidaire Refrigerator Bearing Hinge37WCI 24171160349240324502 Frigidaire Gallon Door Shelf Bin72WCI 24042170173218396700 Frigidaire Door Handle Mounting Block74WCI 215503204