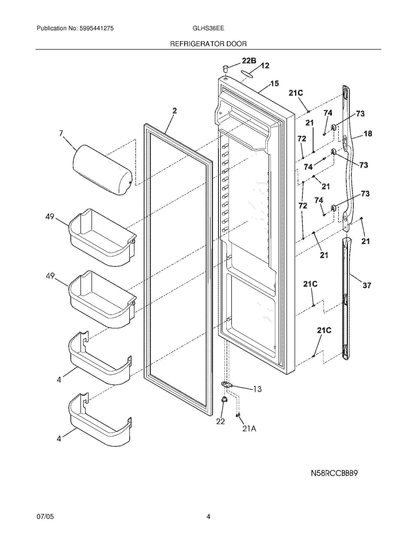
GLHS36EESB1 05 – REFRIGERATOR DOOR