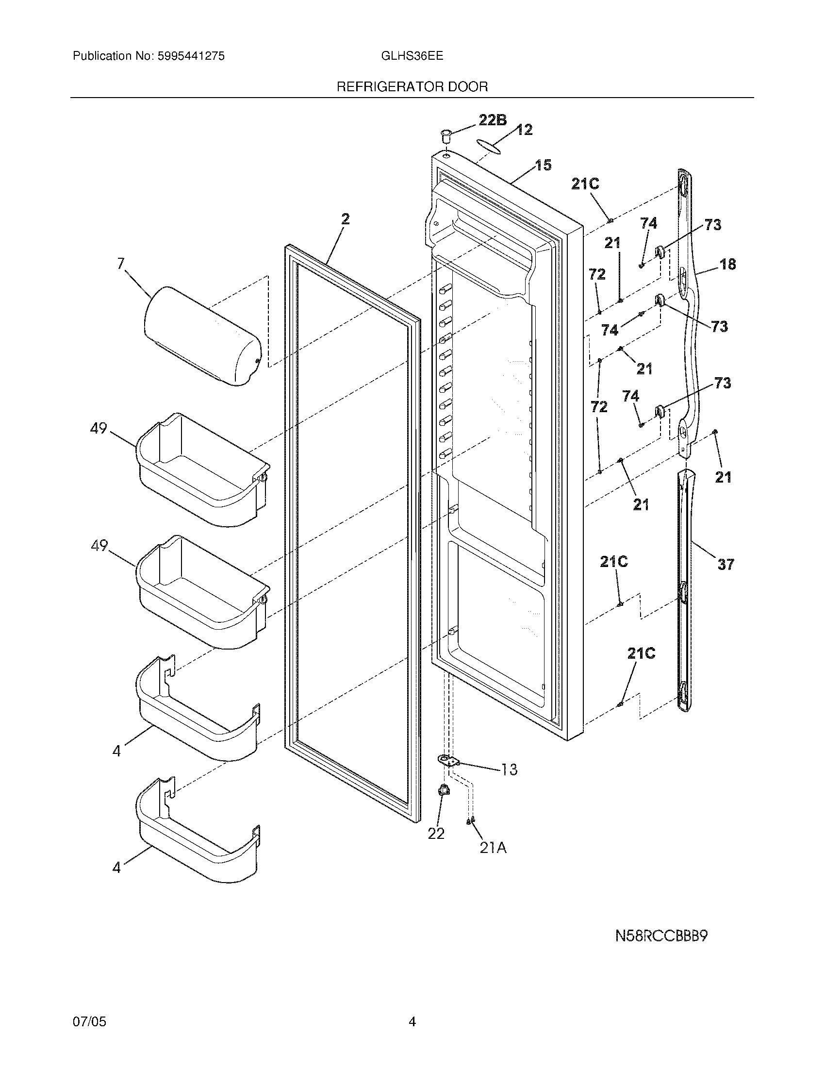
GLHS36EESB3 05 – REFRIGERATOR DOORadmin2025-04-26T10:43:53+00:00GLHS36EESB3 05 – REFRIGERATOR DOOR ProductsPositionProductNIWCI 2184909012GASKET-DOOR42 LITER DOOR BIN7240338313 Frigidaire Refrigerator Dairy Door12WCI 24044971013240581905 Frigidaire Refrigerator Door Stop15WCI 24045198518Handle-door,black21218781101 Frigidaire Handle Screw21A240598402 Frigidaire Refrigerator Screw21CWCI 24052130222B240328404 Frigidaire Refrigerator Upper Door Hinge Bearing22240328203 Frigidaire Refrigerator Door Hinge Bearing37WCI 24035920349240324502 Frigidaire Gallon Door Shelf Bin72WCI 24042170173218396700 Frigidaire Door Handle Mounting Block74215503203 Frigidaire Refrigerator Door Handle Screw