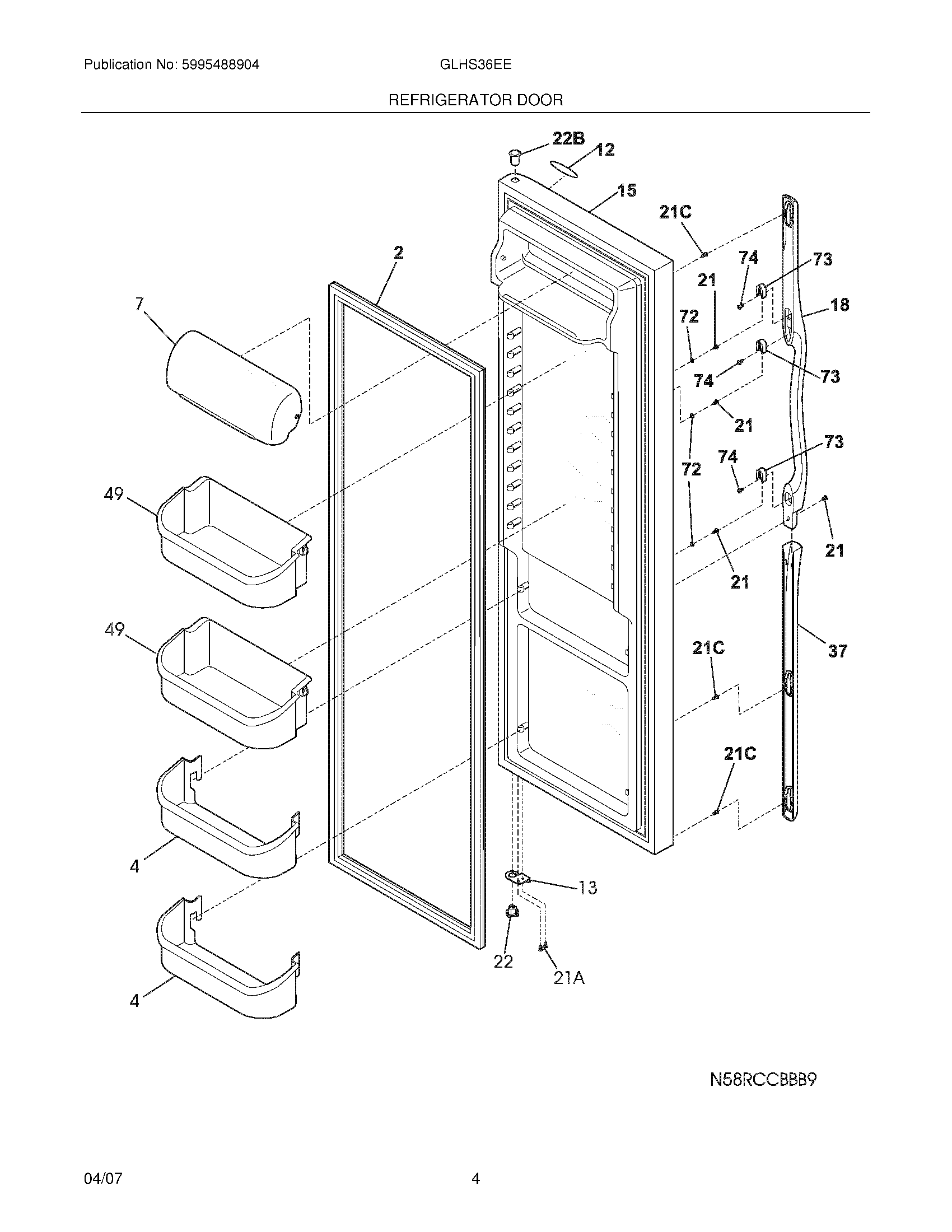
GLHS36EEW7 05 – REFRIGERATOR DOOR