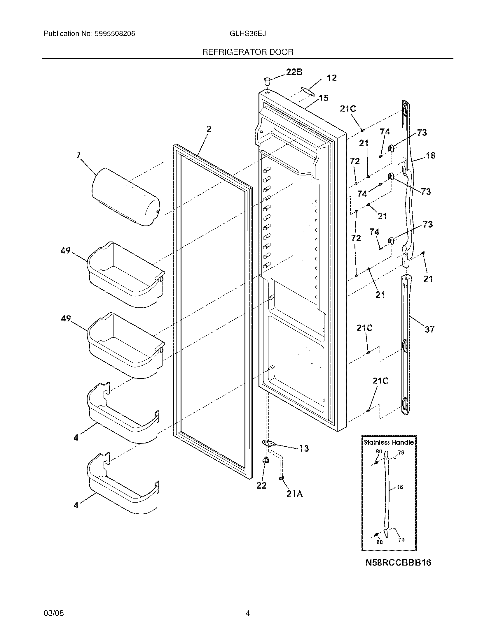
GLHS36EJW0 05 – REFRIGERATOR DOOR