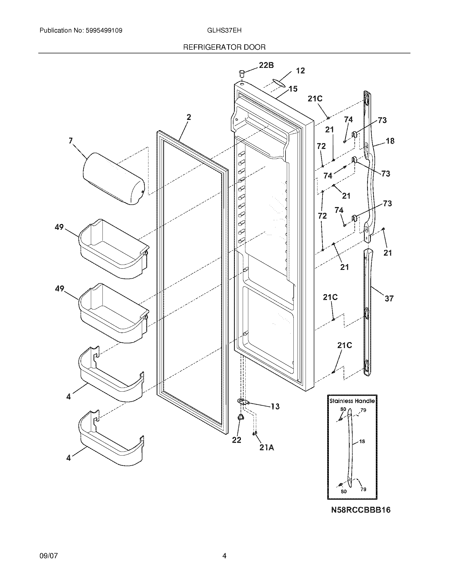
GLHS37EHB5 05 – REFRIGERATOR DOOR