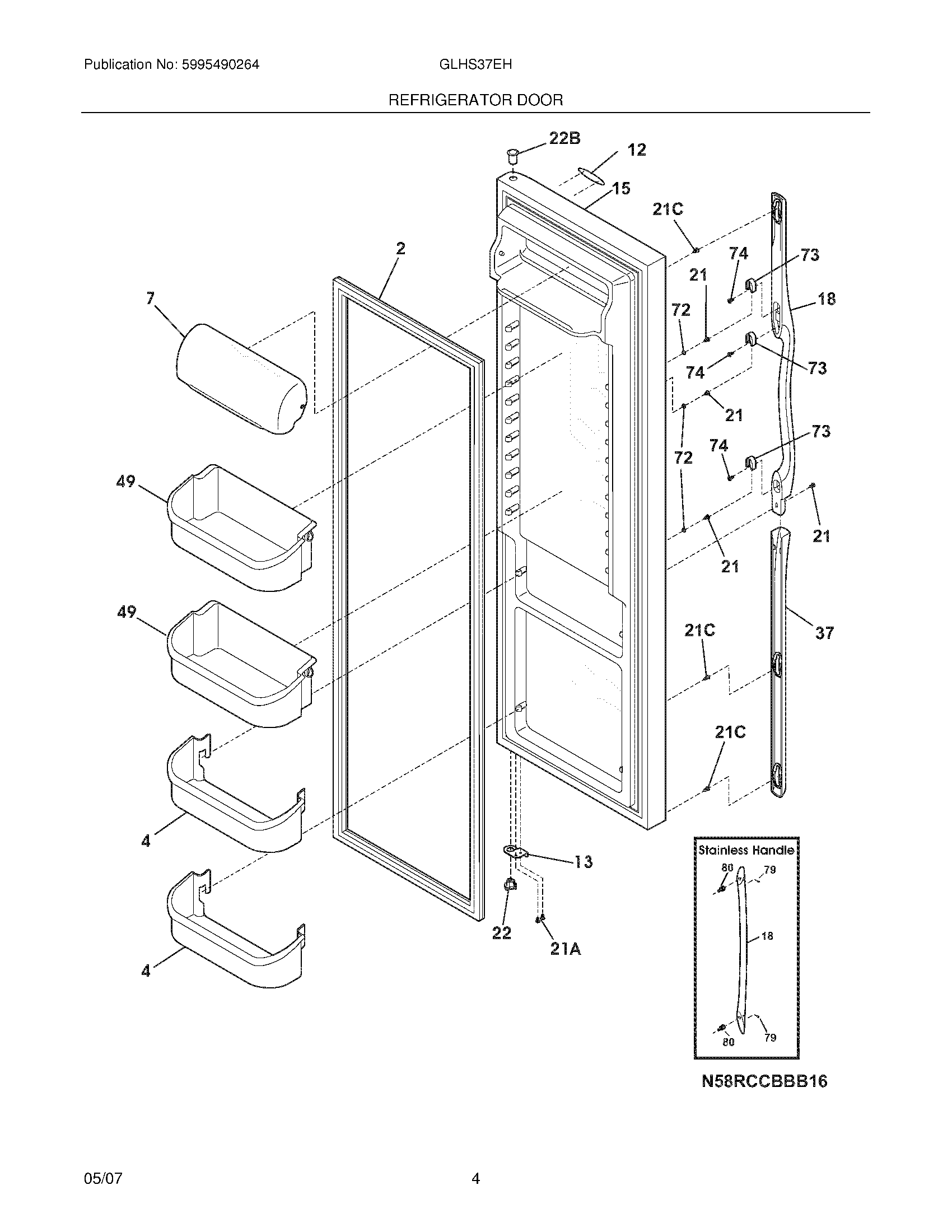
GLHS37EHSB2 05 – REFRIGERATOR DOORadmin2025-04-26T10:44:02+00:00GLHS37EHSB2 05 – REFRIGERATOR DOOR ProductsPositionProductNIWCI 2417803012GASKET-DOOR42 LITER DOOR BIN7240338313 Frigidaire Refrigerator Dairy Door12WCI 24180860113240581905 Frigidaire Refrigerator Door Stop15WCI 24153456918WCI 24053681821A240598402 Frigidaire Refrigerator Screw22B240328404 Frigidaire Refrigerator Upper Door Hinge Bearing22240328203 Frigidaire Refrigerator Door Hinge Bearing49240324502 Frigidaire Gallon Door Shelf Bin79218755402 Frigidaire Refrigerator Set Screw80218755504 Frigidaire Refrigerator Shoulder Screw