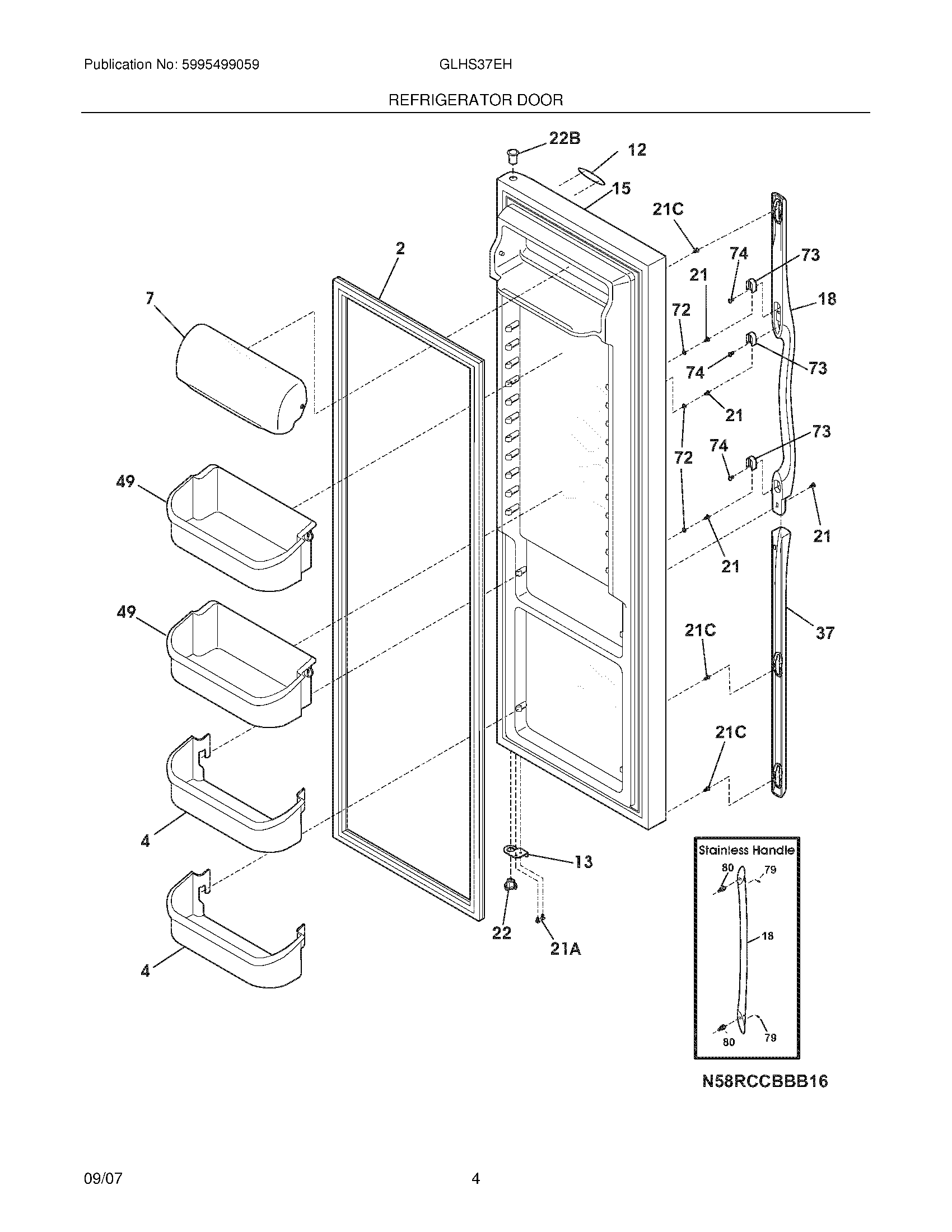
GLHS37EHSB4 05 – REFRIGERATOR DOOR