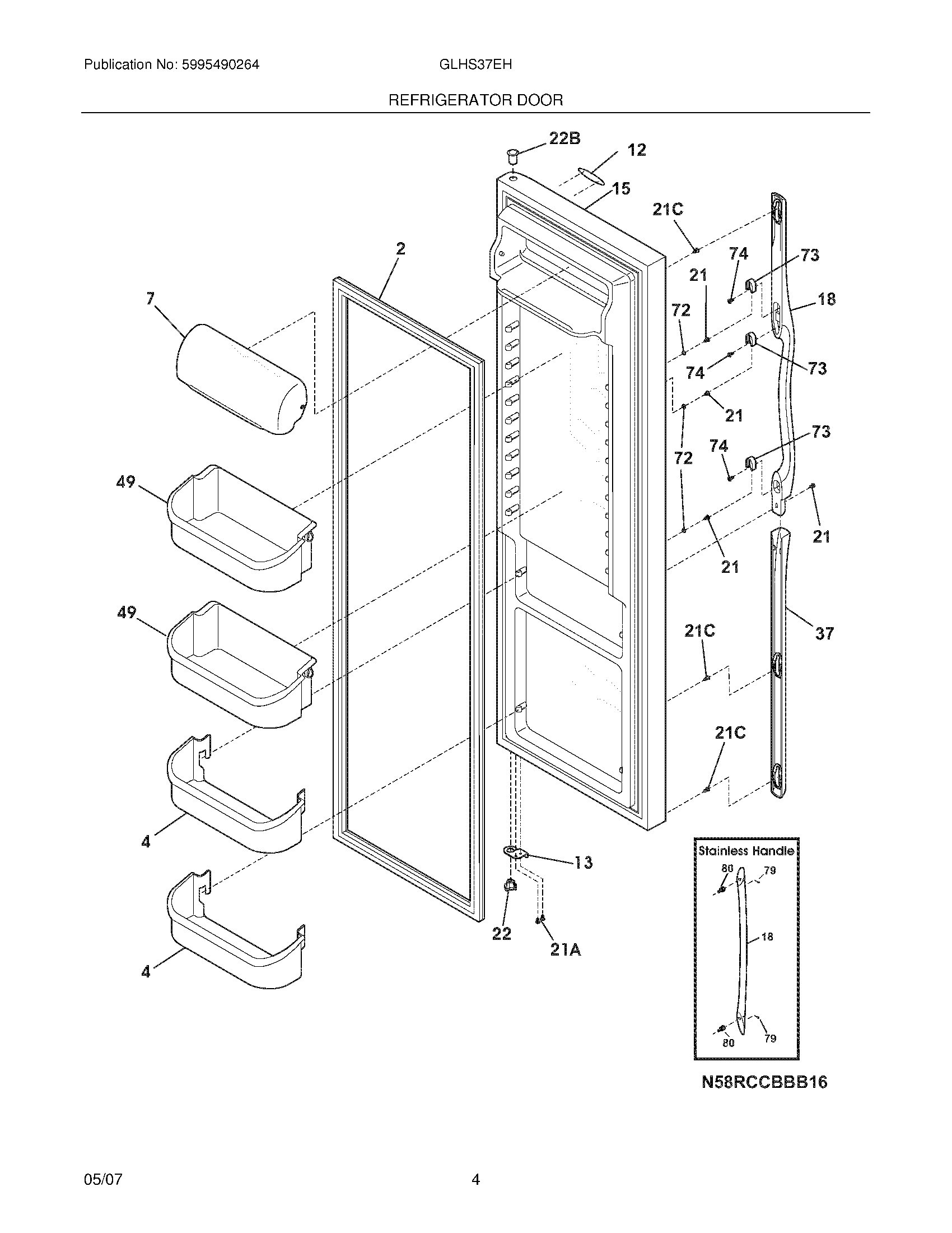
GLHS37EHW2 05 – REFRIGERATOR DOOR