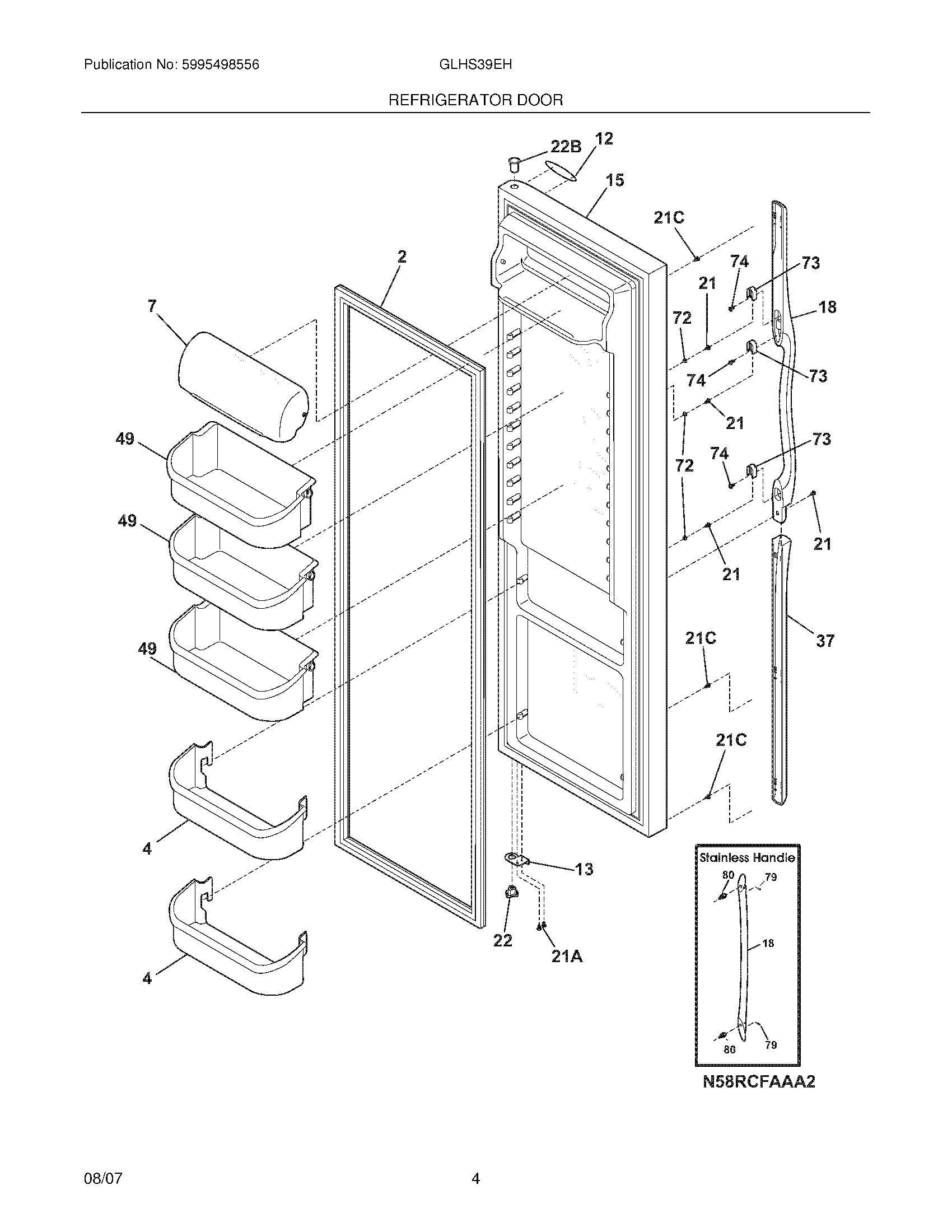
GLHS39EHSB3 05 – REFRIGERATOR DOORadmin2025-04-26T10:45:01+00:00GLHS39EHSB3 05 – REFRIGERATOR DOOR ProductsPositionProductNIWCI 241780301NI5304467131 Frigidaire Refrigerator Wrench2GASKET-DOOR42 LITER DOOR BIN7240338313 Frigidaire Refrigerator Dairy Door12WCI 24180860113240581905 Frigidaire Refrigerator Door Stop15WCI 24153454218WCI 24053681821A240598402 Frigidaire Refrigerator Screw21218781101 Frigidaire Handle Screw22240328203 Frigidaire Refrigerator Door Hinge Bearing22B240328404 Frigidaire Refrigerator Upper Door Hinge Bearing49240324502 Frigidaire Gallon Door Shelf Bin79218755402 Frigidaire Refrigerator Set Screw80218755504 Frigidaire Refrigerator Shoulder Screw