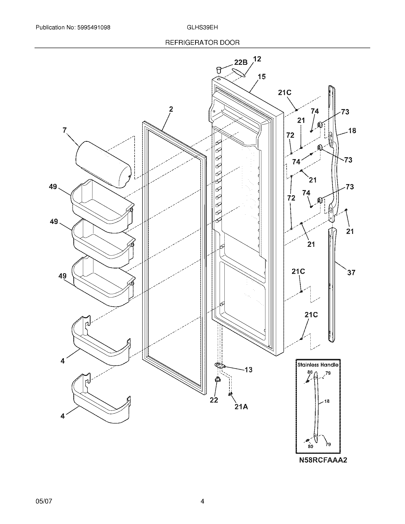
GLHS39EHW1 05 – REFRIGERATOR DOORadmin2025-04-26T10:45:47+00:00GLHS39EHW1 05 – REFRIGERATOR DOOR ProductsPositionProductNIWCI 2417803012GASKET-DOOR42 LITER DOOR BIN7240338313 Frigidaire Refrigerator Dairy Door12WCI 24180860113240581901 Frigidaire Refrigerator Door Stop15WCI 24045191318WCI 24171170121CWCI 24052130421218781101 Frigidaire Handle Screw21A240598402 Frigidaire Refrigerator Screw22B240328402 Frigidaire Refrigerator Bearing Hinge22240328201 Frigidaire Refrigerator Hinge Bearing37WCI 24171160149240324502 Frigidaire Gallon Door Shelf Bin72WCI 24042170173218396700 Frigidaire Door Handle Mounting Block74WCI 215503204