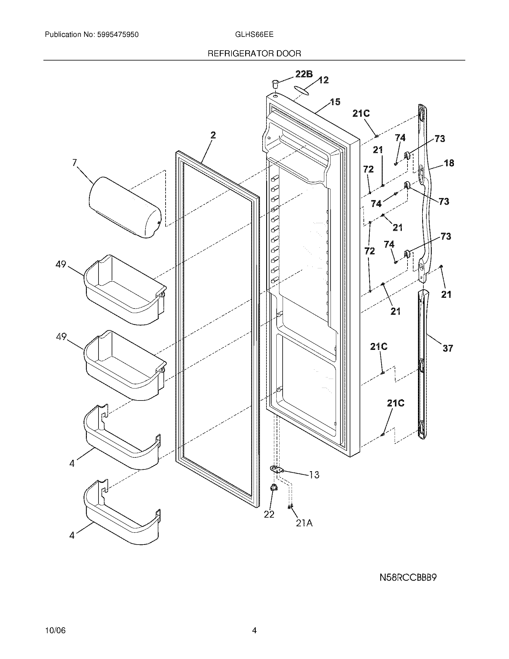
GLHS66EEB9 05 – REFRIGERATOR DOORadmin2025-04-26T10:46:40+00:00GLHS66EEB9 05 – REFRIGERATOR DOOR ProductsPositionProduct2241786013 Frigidaire Refrigerator Door Gasket4240323002 Frigidaire Bottom Clear Door Bin7WCI 24032620312WCI 24044971013240581905 Frigidaire Refrigerator Door Stop15Panel-refr door,black ,complete assy18WCI 24171170221218781101 Frigidaire Handle Screw21CWCI 24052130421A240598402 Frigidaire Refrigerator Screw22240328203 Frigidaire Refrigerator Door Hinge Bearing22B240328404 Frigidaire Refrigerator Upper Door Hinge Bearing37WCI 24171160249240356402 Frigidaire Refrigerator Gallon Door Bin72WCI 24042170173218396700 Frigidaire Door Handle Mounting Block74WCI 215503204