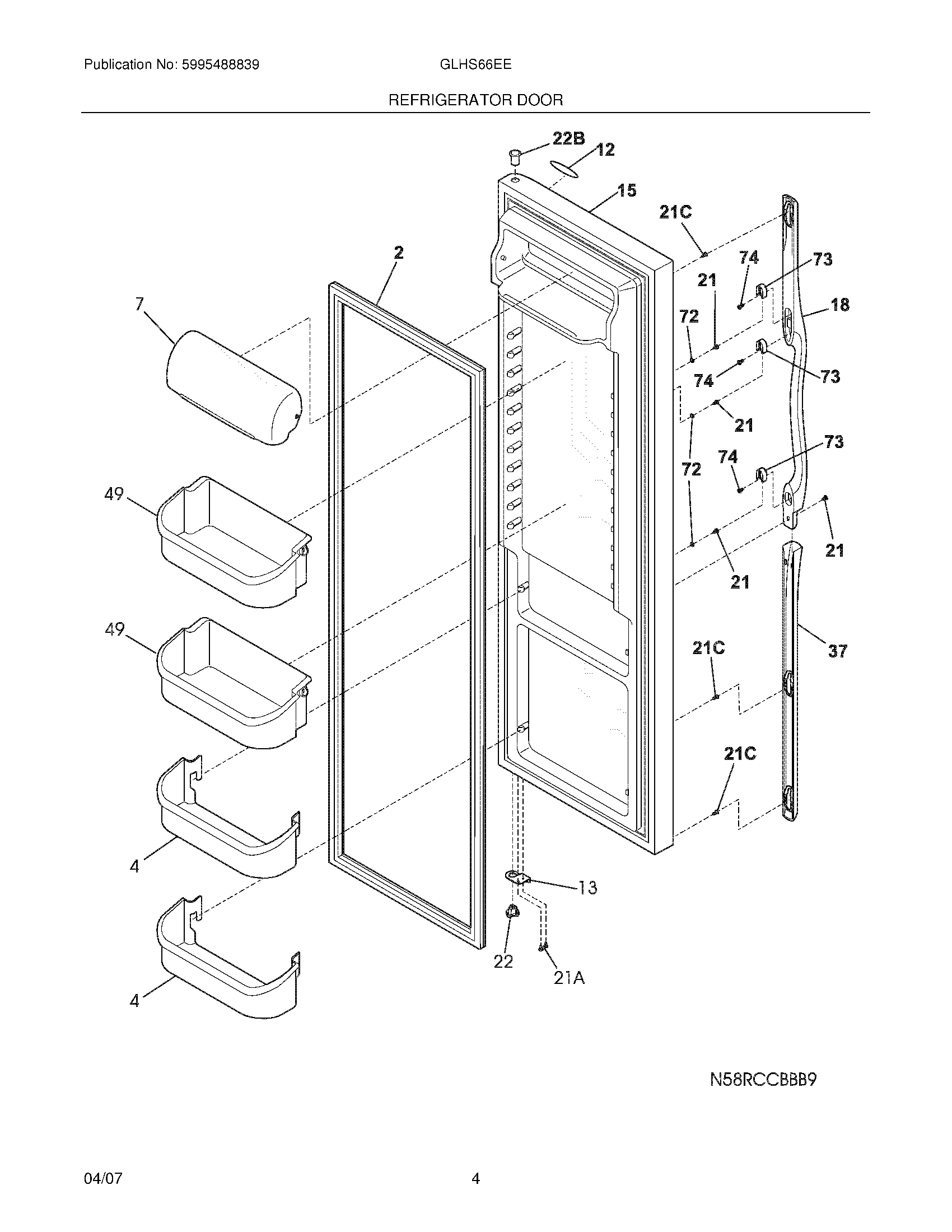
GLHS66EEWB 05 – REFRIGRATOR DOOR