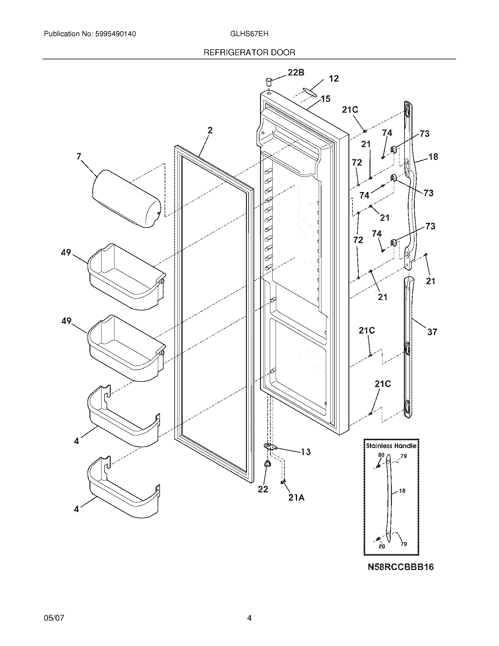
GLHS67EHQ1 05 – REFRIGERATOR DOORadmin2025-04-26T10:48:22+00:00GLHS67EHQ1 05 – REFRIGERATOR DOOR ProductsPositionProductNIWCI 2417804012241786001 Frigidaire Door Gasket4240323002 Frigidaire Bottom Clear Door Bin7WCI 24032620312WCI 24180860113WCI 24058190315WCI 24045190418WCI 24171170321CWCI 24052130421A240598402 Frigidaire Refrigerator Screw21218781101 Frigidaire Handle Screw22240328201 Frigidaire Refrigerator Hinge Bearing22B240328402 Frigidaire Refrigerator Bearing Hinge37WCI 24171160349240356402 Frigidaire Refrigerator Gallon Door Bin72WCI 24042170173218396700 Frigidaire Door Handle Mounting Block74WCI 215503204