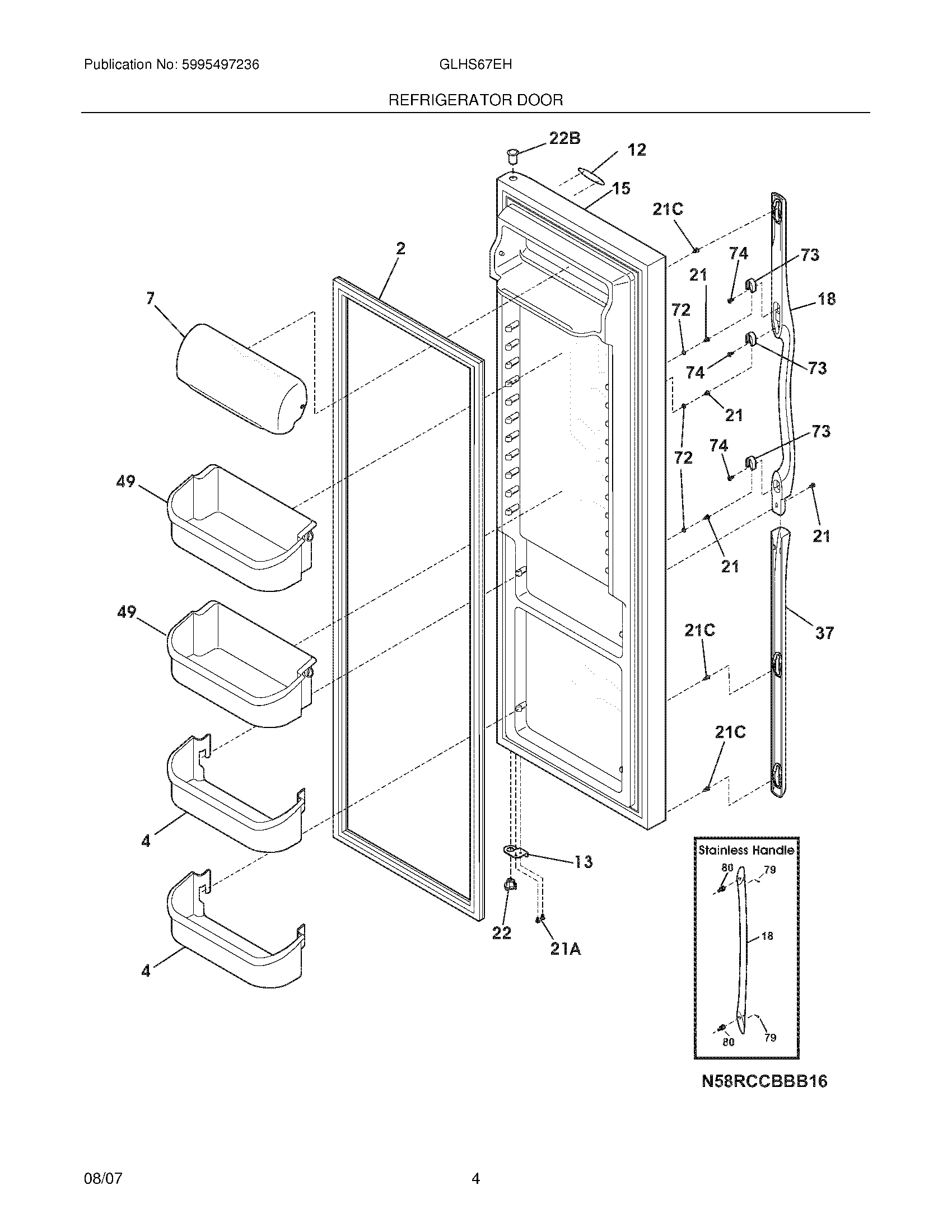
GLHS67EHSB5 05 – REFRIGERATOR DOORadmin2025-04-26T10:46:10+00:00GLHS67EHSB5 05 – REFRIGERATOR DOOR ProductsPositionProductNI5304467131 Frigidaire Refrigerator WrenchNIWCI 2417804012241786013 Frigidaire Refrigerator Door Gasket4240323002 Frigidaire Bottom Clear Door Bin7WCI 24032620312WCI 24180860113240581905 Frigidaire Refrigerator Door Stop15WCI 24162933318WCI 24053681821A240598402 Frigidaire Refrigerator Screw22240328203 Frigidaire Refrigerator Door Hinge Bearing22B240328404 Frigidaire Refrigerator Upper Door Hinge Bearing49240356402 Frigidaire Refrigerator Gallon Door Bin79218755402 Frigidaire Refrigerator Set Screw80218755504 Frigidaire Refrigerator Shoulder Screw