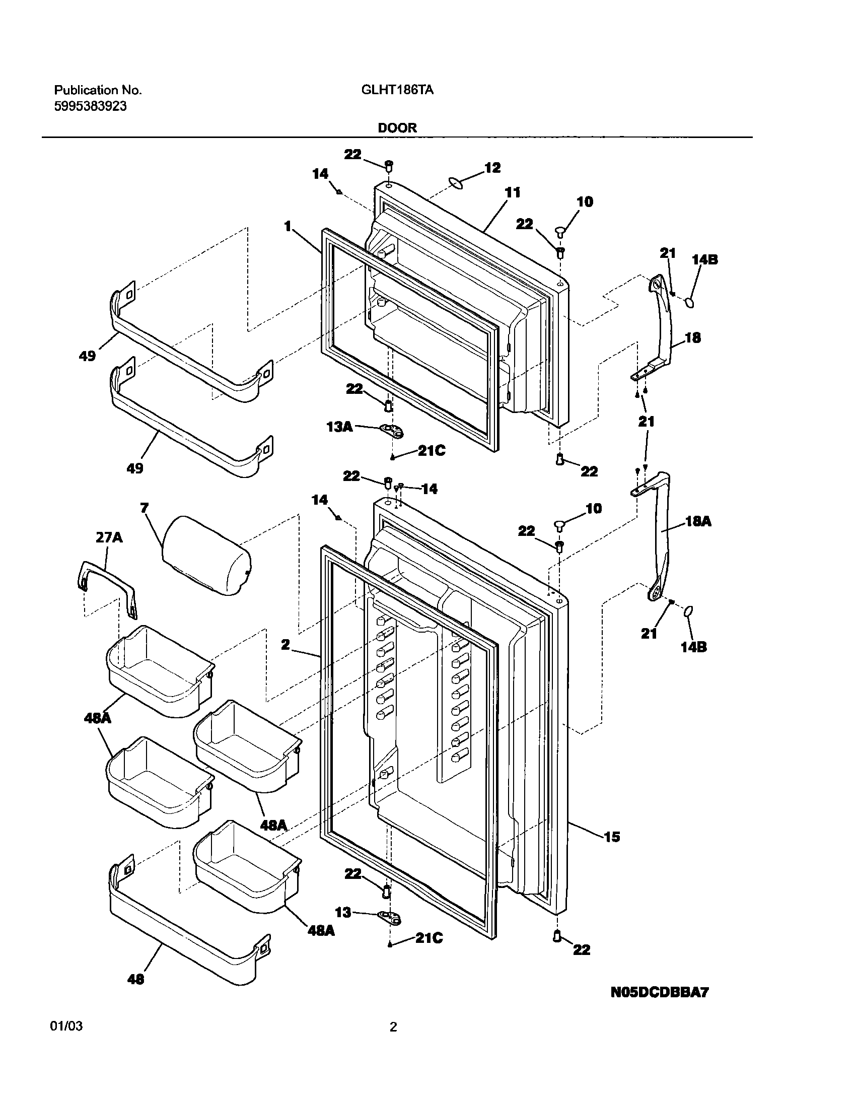
GLHT186TAQ6 03 – DOOR