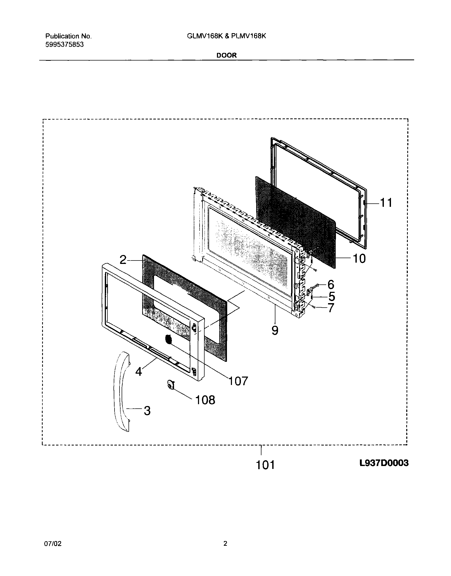
GLMV168KB4 03 – DOORadmin2025-04-26T10:15:12+00:00GLMV168KB4 03 – DOOR ProductsPositionProduct2WCI 53044234333WCI 53044085254Frame,outer door ,black5WCI 53044294056WCI 53044294067WCI 53044294079WCI 530442940810WCI 530440913611WCI 5304429411101WCI 5304429414