| NI | 5304406520 Frigidaire Refrigerator Clip 40 Pack |
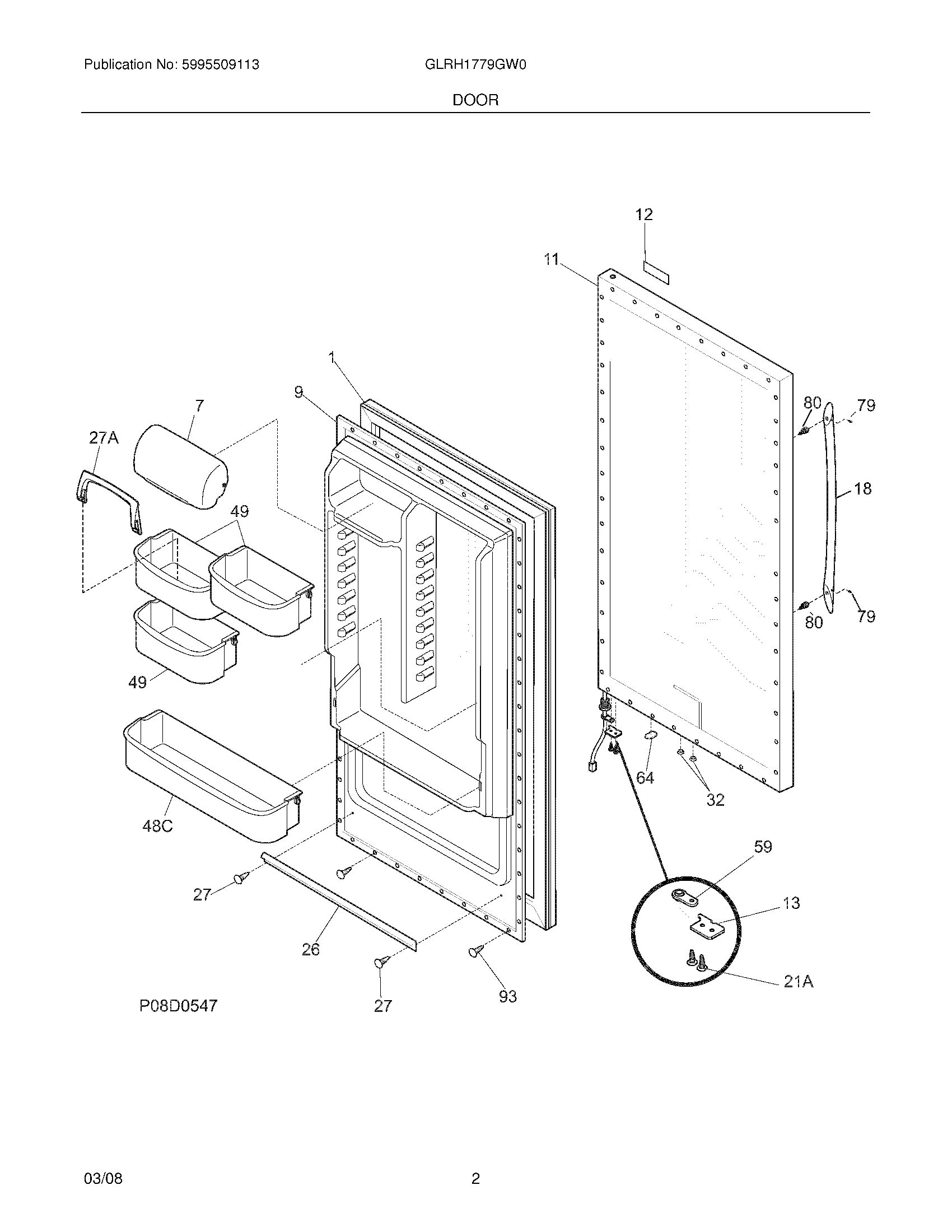
| 1 | 5304507200 Frigidaire Refrigerator Door Gasket |
| 7 | 240338313 Frigidaire Refrigerator Dairy Door |
| 9 | WCI 216953601 |
| 11 | WCI 216526583 |
| 12 | WCI 241808701 |
| 13 | WCI 5303271076 |
| 18 | WCI 240536809 |
| 21A | WCI 5304460608 |
| 26 | 216524201 Frigidaire Refrigerator Gasket |
| 27 | 5303212828 Frigidaire Refrigerator Primary Clip |
| 27A | 240396102 Frigidaire Refrigerator Retainer |
| 32 | Valve,breather ,door base |
| 48C | WCI 297108200 |
| 49 | 216959802 Frigidaire Refrigerator Door Bin |
| 59 | 216974500 Frigidaire Refrigerator Bearing |
| 64 | WCI 216403700 |
| 79 | 218755402 Frigidaire Refrigerator Set Screw |
| 80 | 218755504 Frigidaire Refrigerator Shoulder Screw |
| 93 | 216858001 Frigidaire Refrigerator Screw |