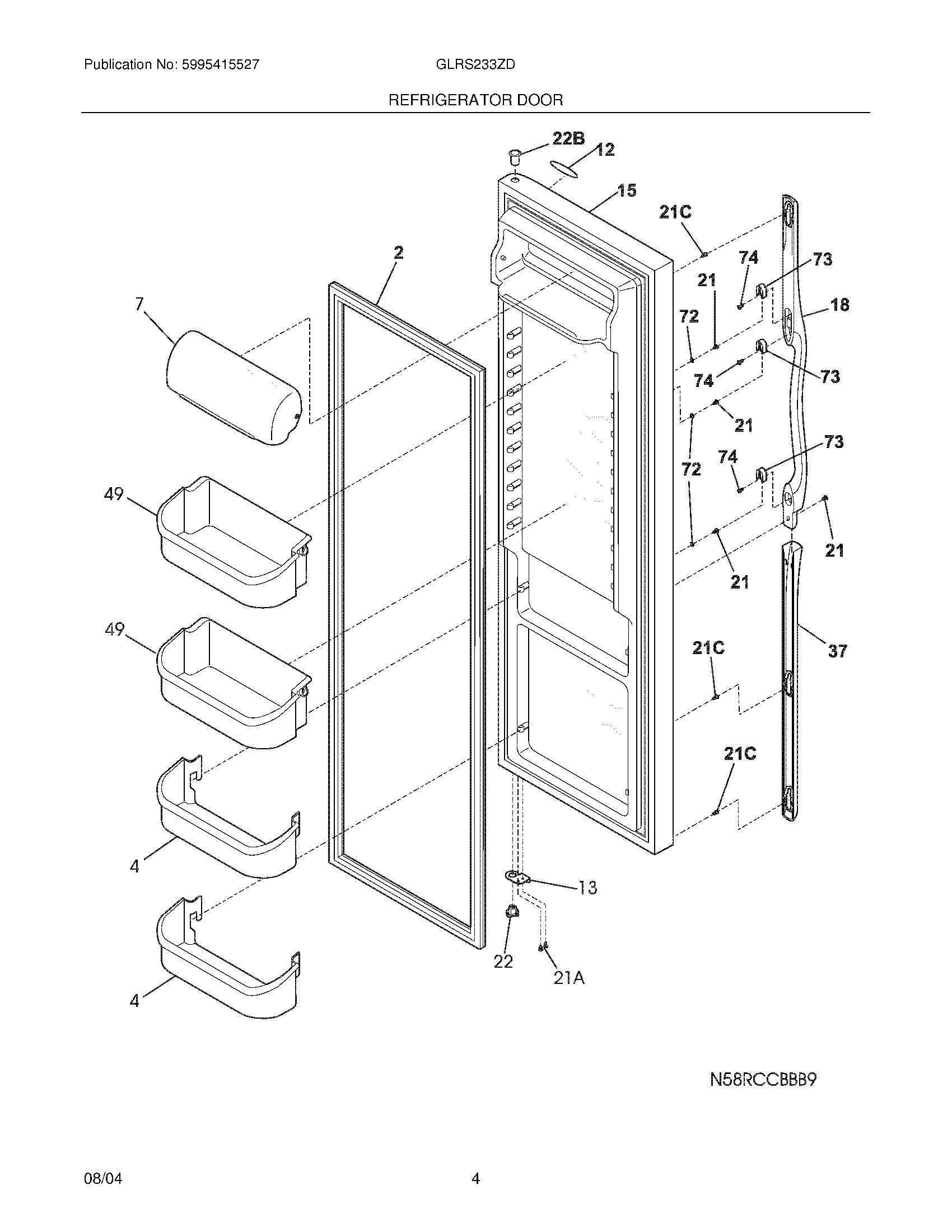
GLRS233ZDW2 05 – REFRIGERATOR DOORadmin2025-04-26T10:03:12+00:00GLRS233ZDW2 05 – REFRIGERATOR DOOR ProductsPositionProduct2GASKET-DOOR4240363701 Frigidaire 2 Liter Door Shelf Bin7240338313 Frigidaire Refrigerator Dairy Door12WCI 240449701135303918455 Frigidaire Refrigerator Adjustable Hinge Kit15WCI 24045191318Handle-door21A5304455650 Frigidaire Refrigerator Screw21218781101 Frigidaire Handle Screw21CWCI 24052130222BBearing-hinge,upper22240328201 Frigidaire Refrigerator Hinge Bearing37WCI 24035920149240324502 Frigidaire Gallon Door Shelf Bin72WCI 24042170173218396700 Frigidaire Door Handle Mounting Block74215503203 Frigidaire Refrigerator Door Handle Screw