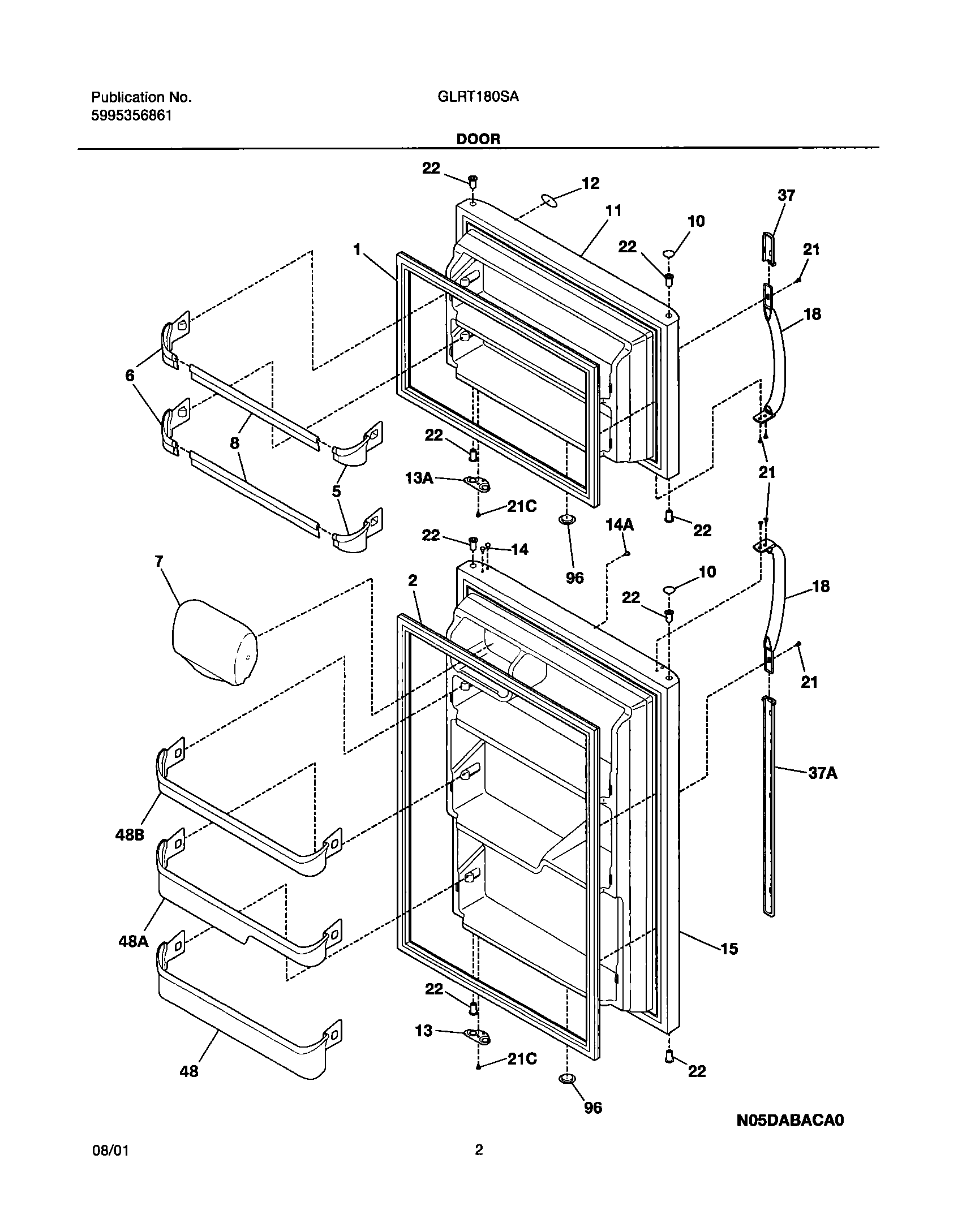
GLRT180SAW0 03 – DOOR