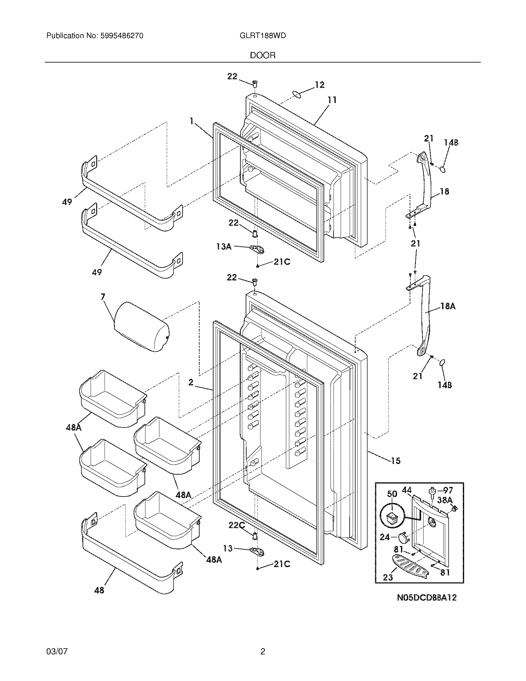
GLRT188WDWC 03 – DOORS