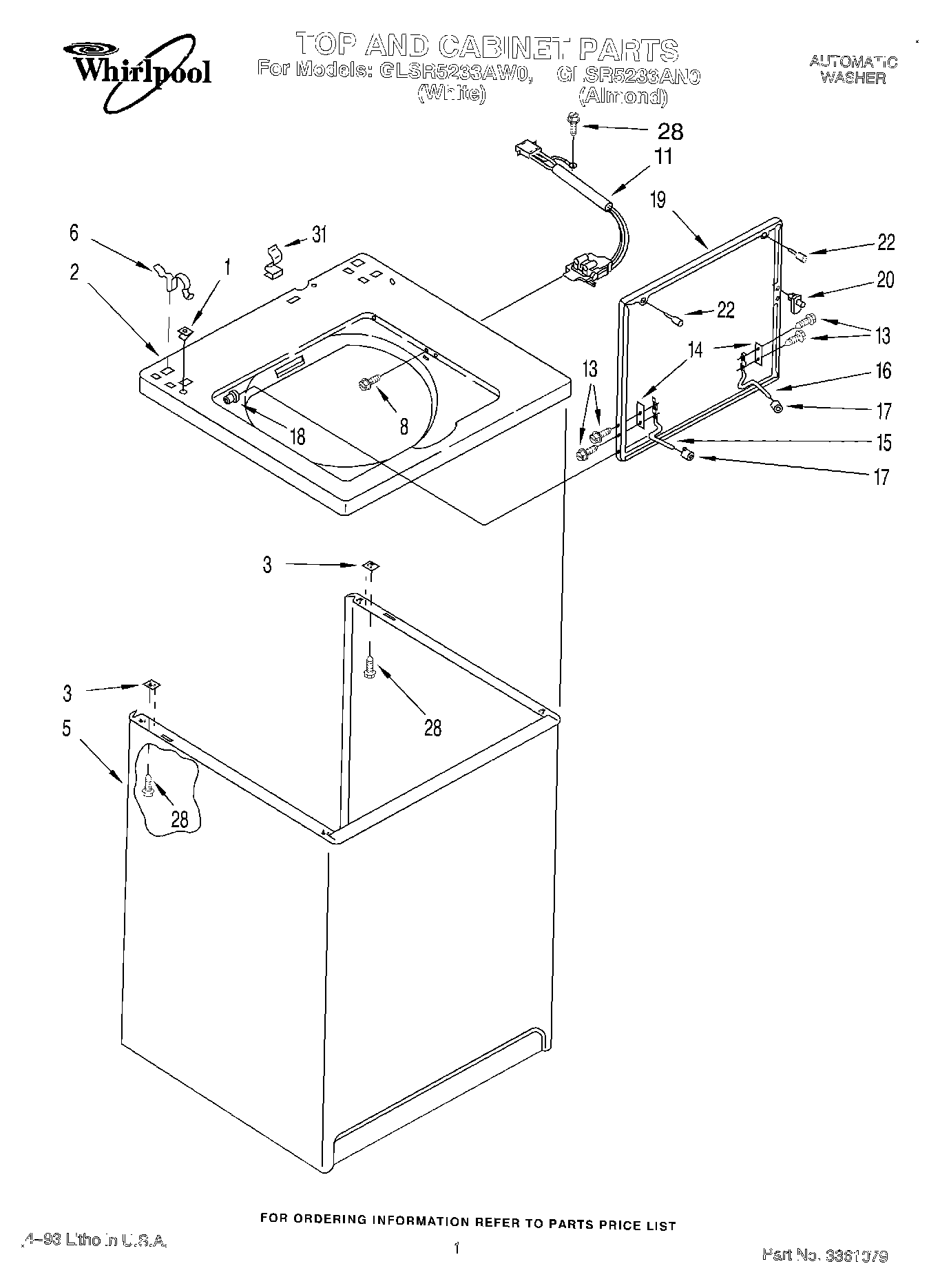
GLSR5233AW0 01 – TOP AND CABINET, LIT/OPTIONALadmin2025-04-26T10:35:10+00:00GLSR5233AW0 01 – TOP AND CABINET, LIT/OPTIONAL ProductsPositionProduct350930 Whirlpool White Spray PaintList, Repair PartsGolden HarvestGolden Harvest (Uncut)Shipping KitWPL 89121Label, Wiring DiagramSheet, Installation InstructionsLUBRICANT (USE ONLY IN BRAKE SHOE ASSEMBLY ON ROLLER & PIN)WPL LIT3357460Manual, (Washer) Do-It-Yourself72110 Whirlpool Dryer Touch-Up Paint, Golden Harvest 6 Oz350572 Whirlpool Oil Transmission 15 OzDrain Protector (Not Included)350938 Whirlpool Spray Gun350956 Whirlpool Spray Assembly72017 Whirlpool Appliance Touch-Up Paint White799344 Whirlpool Refrigerator PaintWP285195 Whirlpool Sealer AssemblyAlmond (Uncut)WP72107 Whirlpool TouchupLeveler (Thinner)285320 Whirlpool Washer Siphon Break Kit1WP357213 Whirlpool Hinge Stopper2Top (Almond)2Top (White)3WP62750 Whirlpool Spacer563424 Whirlpool Cabinet Assembly5Cabinet (Almond)6WP62780 Whirlpool Cabinet Clip8WP3356311 Whirlpool Screw11285671 Whirlpool Lid Switch Assembly13SCREW14WP21097 Whirlpool Pad15WP54584 Whirlpool Hinge16WP54583 Whirlpool Hinge17Bumper, Lid Hinge18WP21258 Whirlpool Washer Lid Hinge Bearing19Lid (White)19Lid (Almond)20WP358684 Whirlpool Strike Assembly22WP9724509 Whirlpool Bumper28SCREW31WP90016 Whirlpool Clip