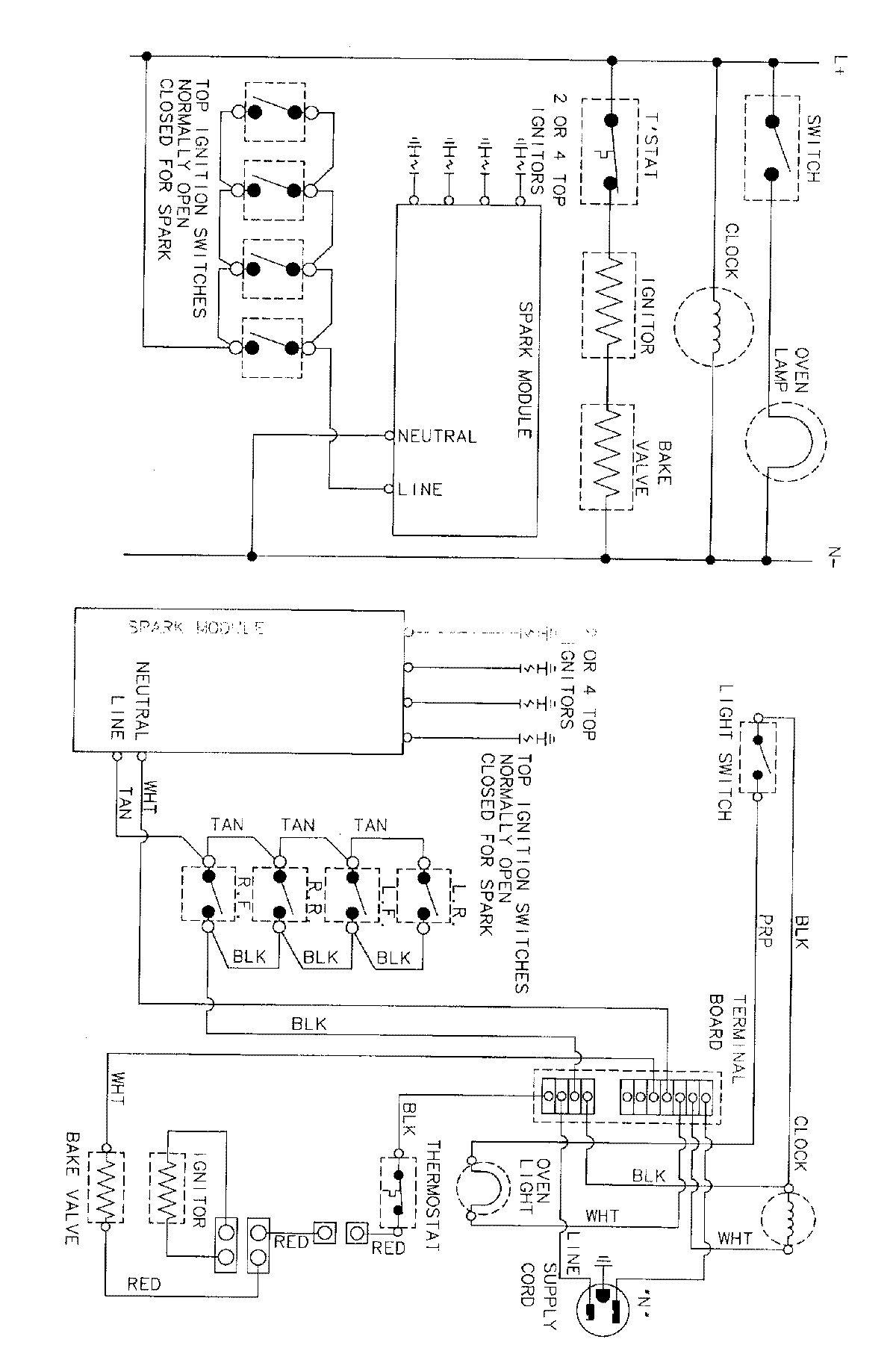
GM3211GXAW 07 – WIRING INFORMATIONadmin2025-04-26T09:00:32+00:00GM3211GXAW 07 – WIRING INFORMATION ProductsPositionProductNIMAY 15001767