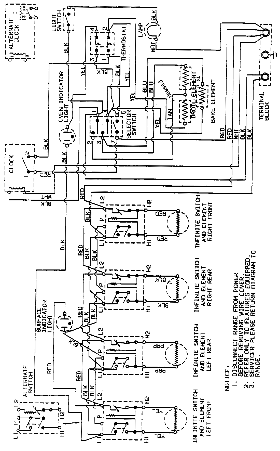
GM3510PRW 06 – WIRING INFORMATIONadmin2025-04-26T09:01:11+00:00GM3510PRW 06 – WIRING INFORMATION ProductsPositionProductNIMAY 15001161