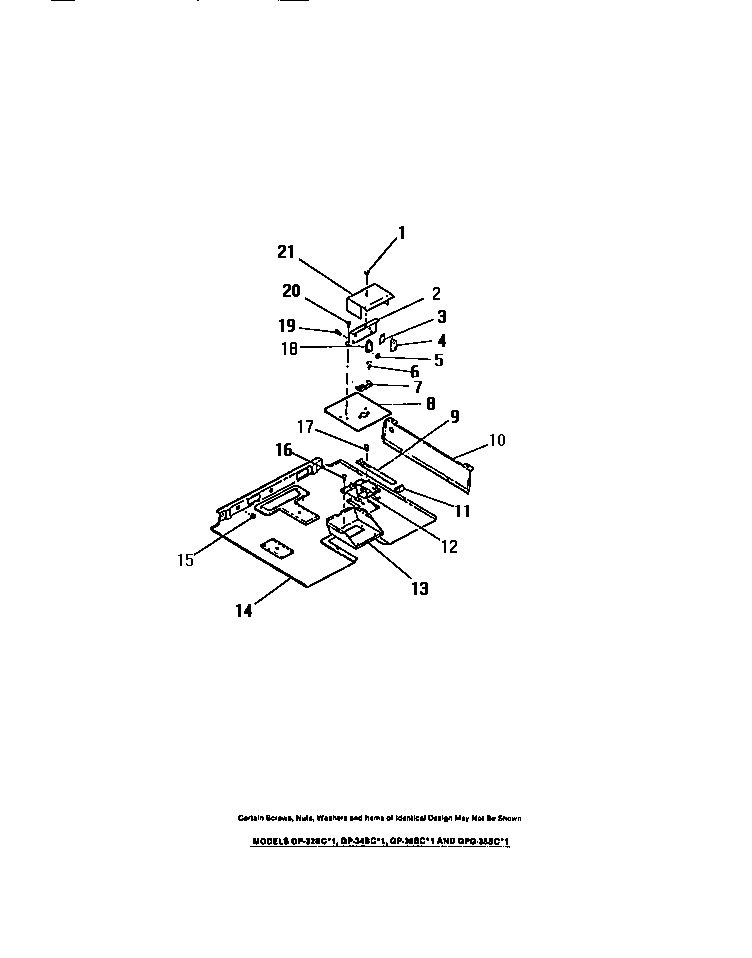
GP32BCW1 26 – DOOR LATCH MECHANISMadmin2025-04-26T10:19:47+00:00GP32BCW1 26 – DOOR LATCH MECHANISM ProductsPositionProduct2WCI 80116553WCI 80138875WCI 8079916WCI 80125097WCI 80115058WCI 80115239WCI 801404410WCI 800801810AWCI 801155211WCI 801145612WCI 801146213WCI 801156114WCI 801406615BUSHING17WCI 800798918WCI 801148919WCI 801165420WCI 800790521WCI 8013954