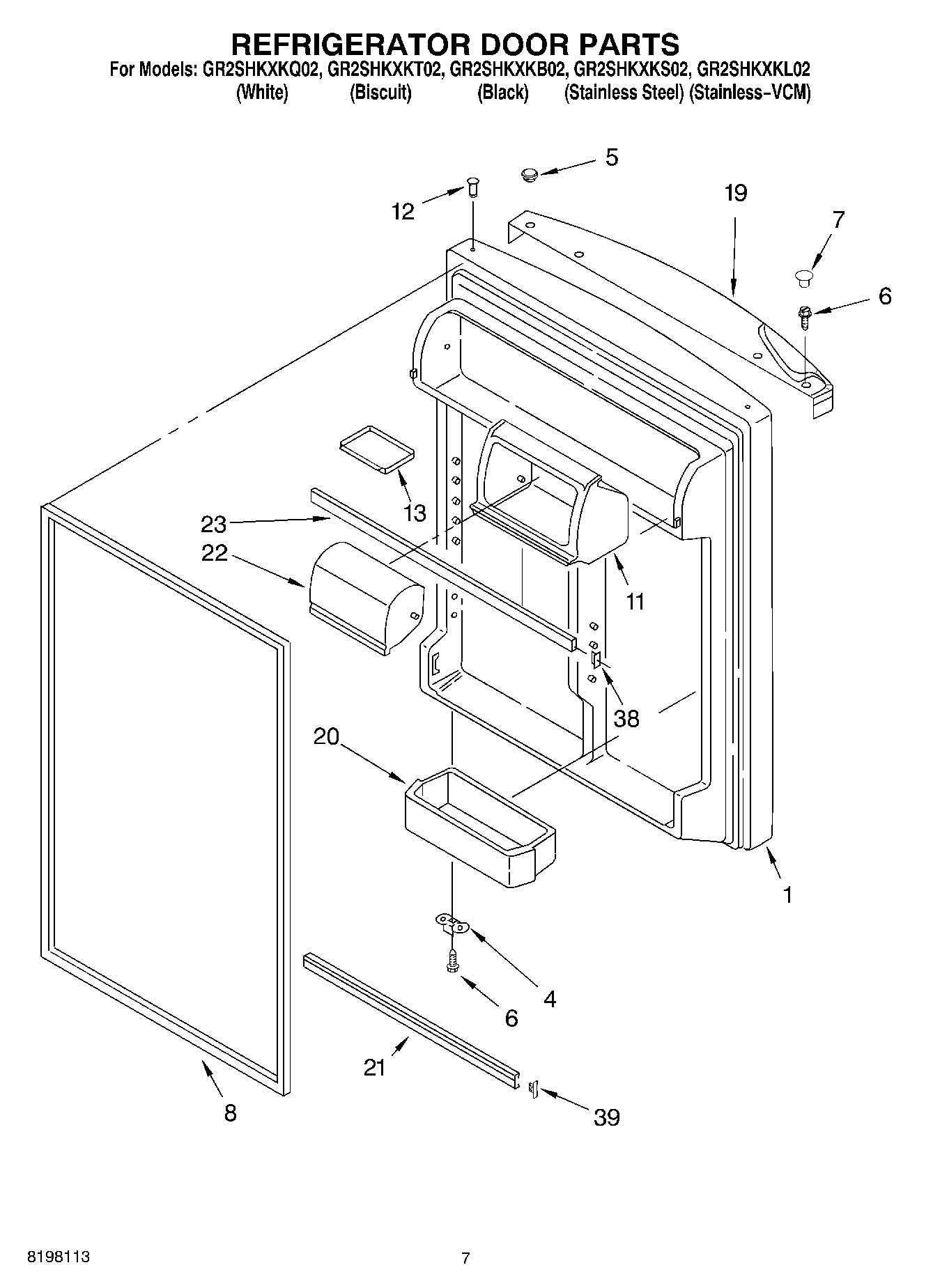
GR2SHKXKT02 04 – REFRIGERATOR DOOR