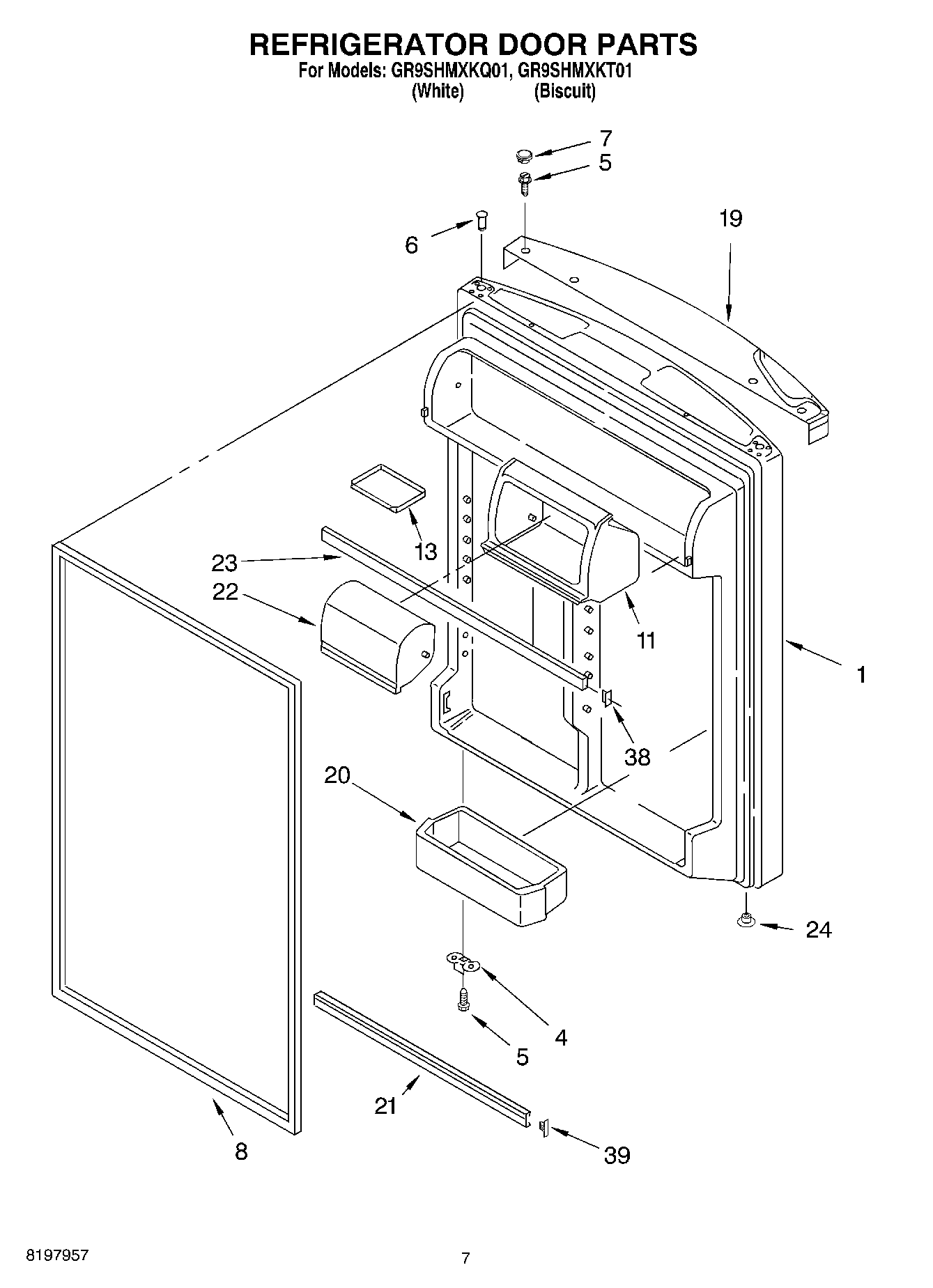
GR9SHMXKT01 04 – REFRIGERATOR DOORadmin2025-04-26T11:03:02+00:00GR9SHMXKT01 04 – REFRIGERATOR DOOR ProductsPositionProduct1Refrigerator Door (Includes 6 & 8) (Biscuit)1Refrigerator Door (Includes Illus. 8 & 12) (White)4W11745278 Whirlpool Bracket5WP681249 Whirlpool Screw Assembly6WP2183003 Whirlpool Thimble7WP2212649 Whirlpool Refrigerator Button Plug7WP2212648 Whirlpool Refrigerator Hinge Sleeve Hole Plug82159057 Whirlpool Refrigerator Fresh Food Door Gasket11Housing Compartment13Tray, Door19Handle (White)19Handle (Biscuit)20Bin, Door (3)21WPW10421484 Whirlpool Refrigerator Door Trim22DOOR-COMP23WP2159312 Whirlpool Refrigerator Door Trim24HOLE PLUG, ENDCAP (WHITE)24Hole Plug, Handle (Biscuit)38Endcap, Door Trim39WP2156006 Whirlpool Refrigerator Shelf Trim Endcap