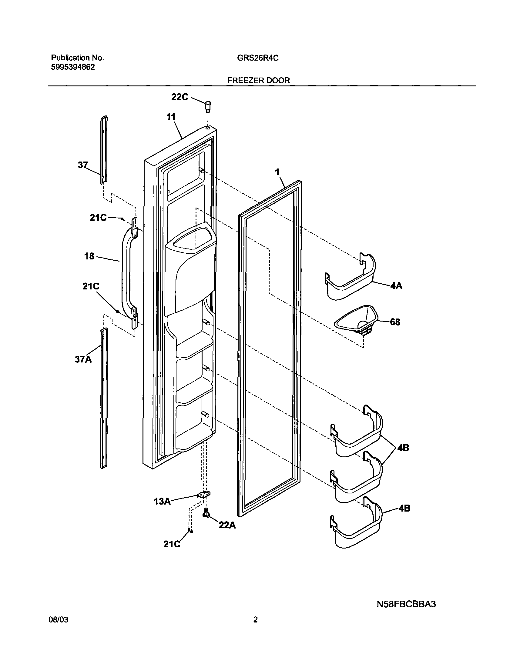
GRS26R4CQ1 03 – FREEZER DOOR