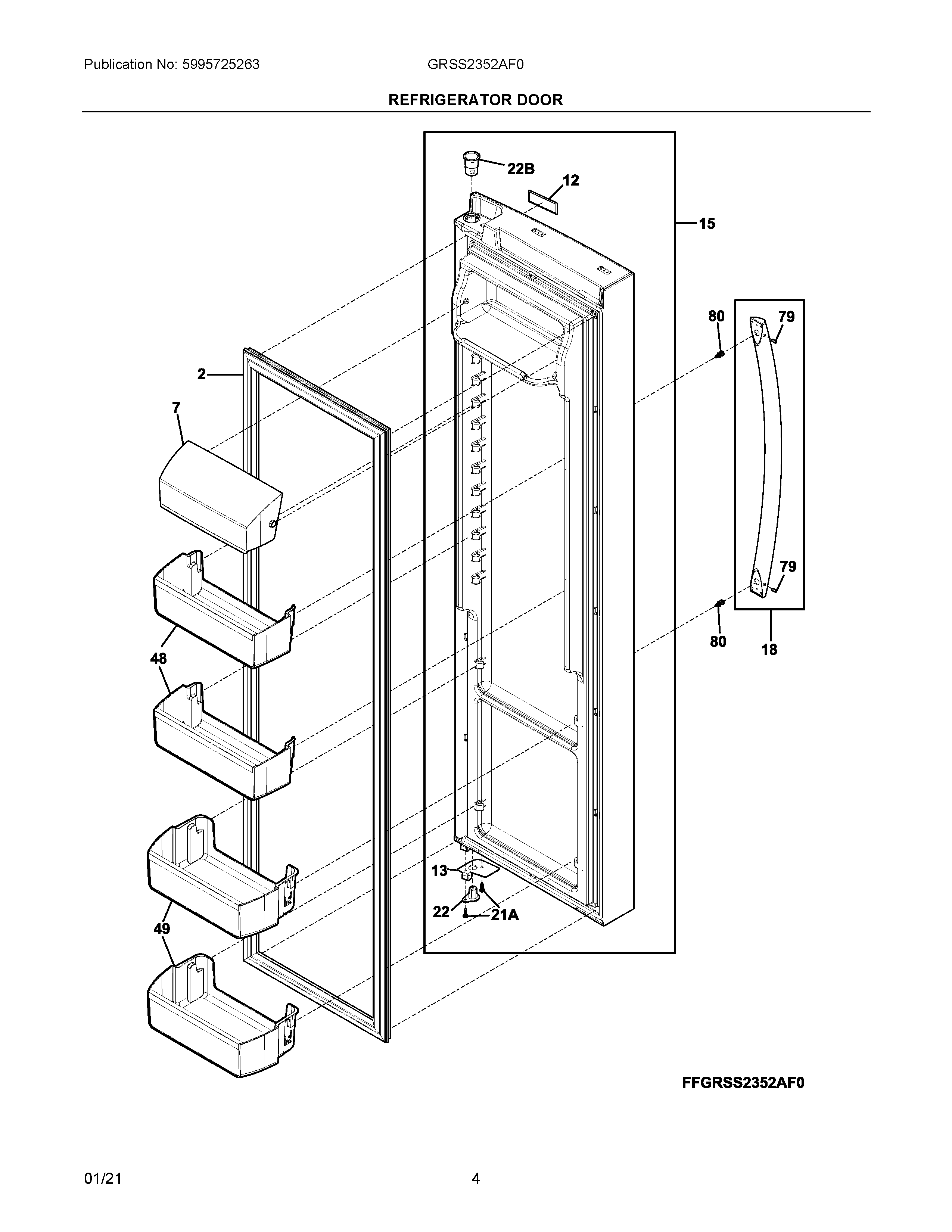
GRSS2352AF0 03 – REFRIGERATOR DOORadmin2025-04-26T10:19:55+00:00GRSS2352AF0 03 – REFRIGERATOR DOOR ProductsPositionProductNIA5304467131 Frigidaire Refrigerator Wrench2GASKET-DOOR75304526901 Frigidaire Cover125304512150 Frigidaire Refrigerator Nameplate13241990201 Frigidaire Refrigerator Door Stop155304526961 Frigidaire Refrigerator Door Assembly185304527111 Frigidaire Refrigerator Handle21A240442708 Frigidaire Refrigerator Screw-#10-32 X 3/422B241760404 Frigidaire Refrigerator Bearing22241990301 Frigidaire Hinge Bearing485304536369 Frigidaire Bin Assembly495304536370 Frigidaire Bin Assembly79218755405 Frigidaire Refrigerator Screw Set80218755504 Frigidaire Refrigerator Shoulder Screw