| *09364 | WCI 218468100 |
| *09363 | WCI 218468023 |
| *09365 | INSULATION |
| *09361 | WCI 218467401 |
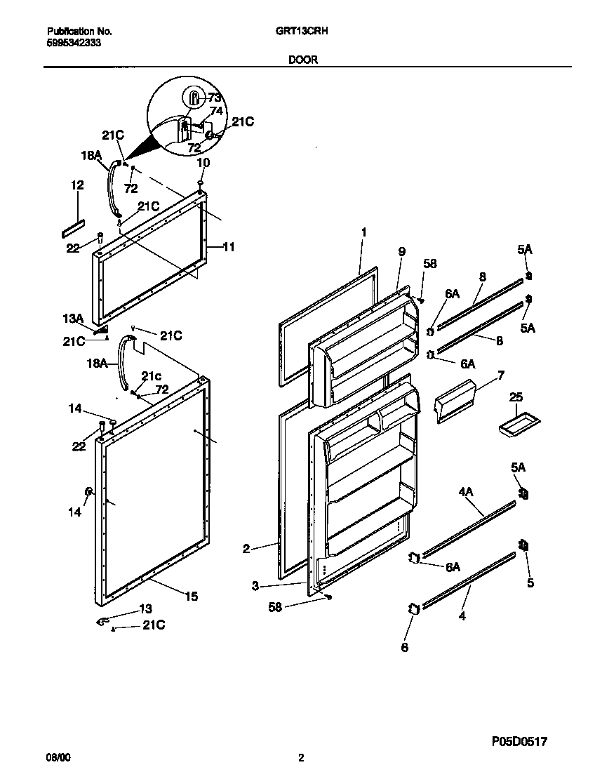
| 1 | GASKET-FRZR DOOR, MAGNETIC, WHITE |
| 2 | WCI 218730601 |
| 3 | PANEL-INNER DOOR, REFR |
| 4 | RACK-DOOR, 23.16`` X 1.12`` |
| 4 | 215366002 Frigidaire Refrigerator Door Wide Rack |
| 5 | 3206165 Frigidaire Bar Endcap Right Hand |
| 5 | WCI 5303324320 |
| 6 | 3206166 Frigidaire Refrigerator Freezer Door Shelf Retainer Bar Endcap Rack Support |
| 6 | WCI 5303324302 |
| 7 | DOOR-DAIRY |
| 8 | RACK-DOOR, 22.59`` X 1.12`` |
| 9 | PANEL-INNER DOOR, FRZR |
| 10 | PLUG-BUTTON, WHITE, HINGE BRG HOLE |
| 11 | WCI 5303917814 |
| 12 | WCI 218531605 |
| 13 | WCI 218800300 |
| 13 | WCI 218249001 |
| 14 | 240494001 Frigidaire Refrigerator Plug Button |
| 15 | WCI 5303917816 |
| 18 | WHITE DOOR HANDLE |
| 21 | 218252201 Frigidaire Refrigerator Screw |
| 22 | WCI 218519300 |
| 25 | 5308000716 Frigidaire Refrigerator Dish |
| 58 | Screw,No.10 pan hd ,8-18 x .5 |
| 72 | WCI 218397000 |
| 73 | 218396700 Frigidaire Door Handle Mounting Block |
| 74 | 215503203 Frigidaire Refrigerator Door Handle Screw |