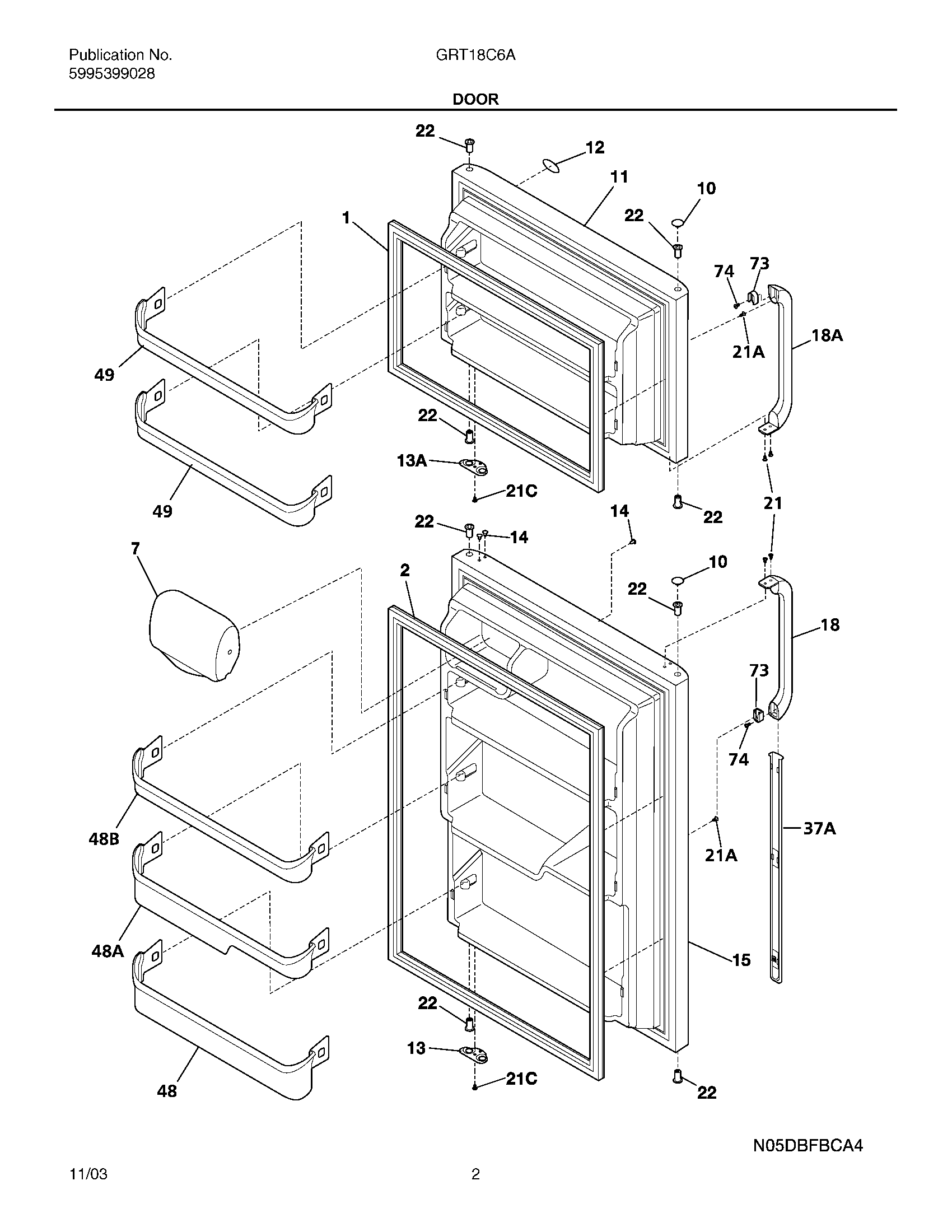
GRT18C6AQ7 03 – DOOR