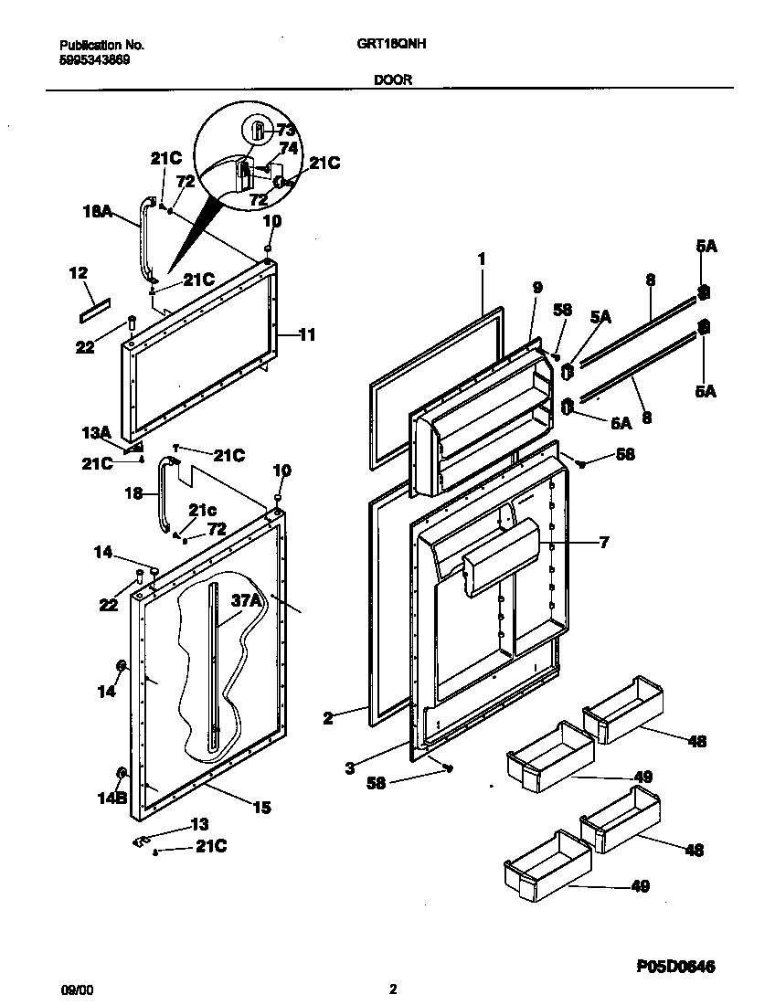
GRT18QNHD2 02 – DOOR