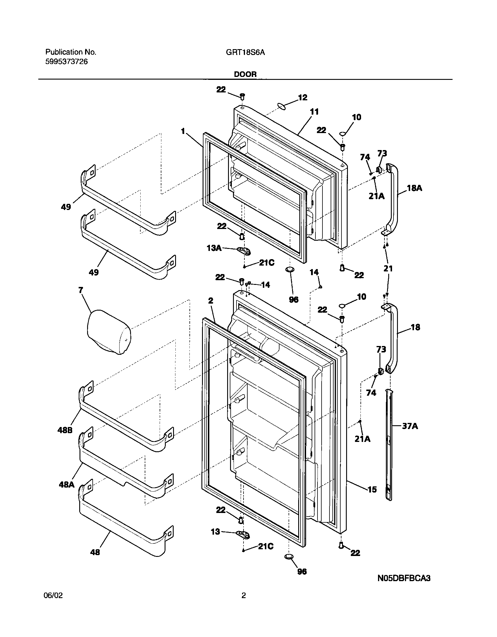
GRT18S6AQ5 03 – DOORS