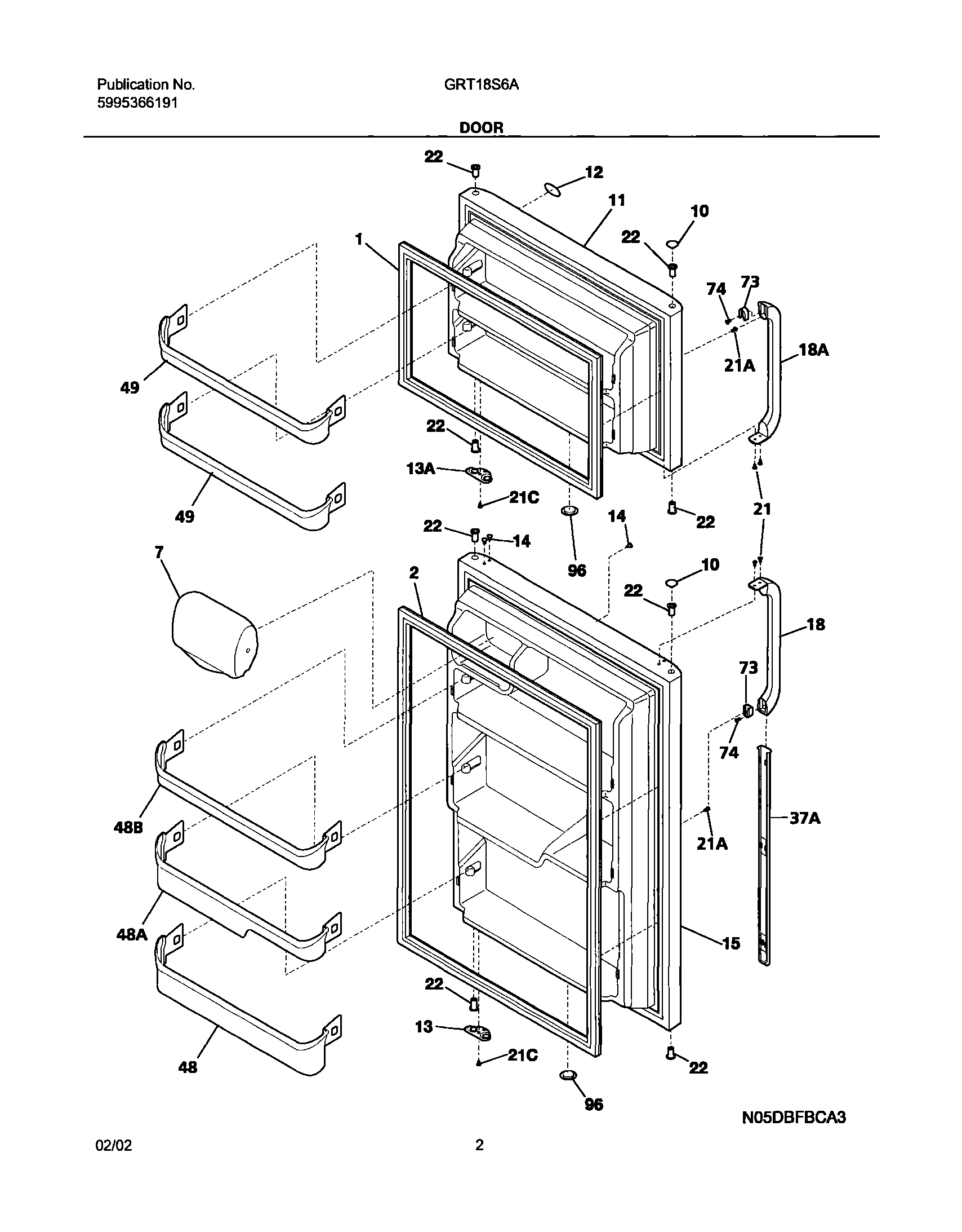
GRT18S6AW1 03 – DOOR