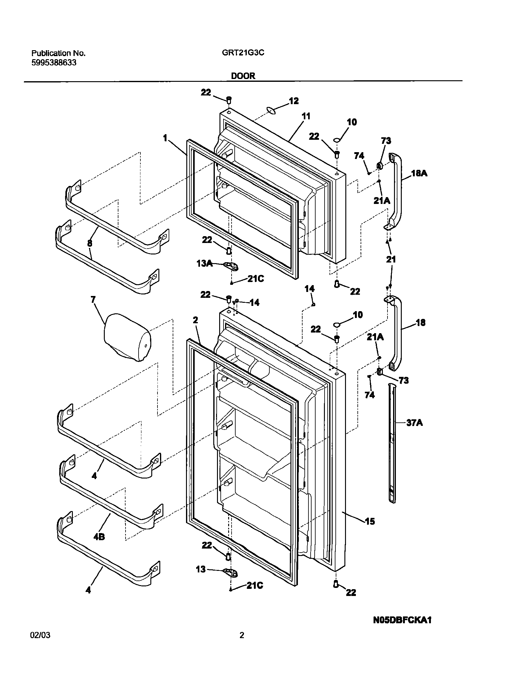
GRT21G3CW0 03 – DOOR