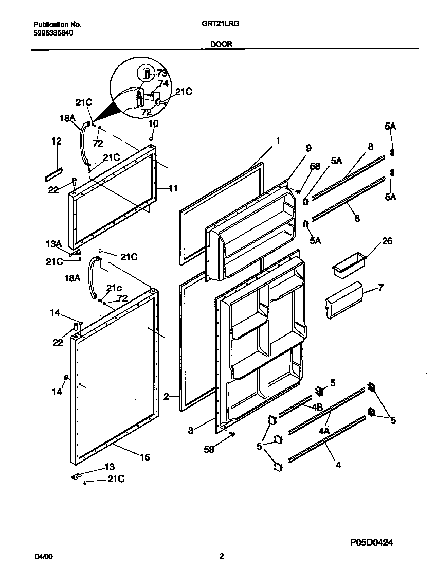
| *10240 | WCI 218467404 |
| *10245 | INSULATION |
| *10242 | WCI 218468026 |
| *10244 | WCI 218468100 |
| 1 | WCI 215608913 |
| 2 | WCI 218730609 |
| 3 | WCI 215393201 |
| 4 | 215366002 Frigidaire Refrigerator Door Wide Rack |
| 5 | 215473602 Frigidaire Refrigerator White Left or Right Door Shelf End Cap |
| 5 | 215267701 Frigidaire Refrigerator White Door Shelf Endcap Left or Right |
| 7 | WCI 215058105 |
| 9 | WCI 215530301 |
| 10 | PLUG-BUTTON, ALMOND, HINGE BRG HOLE |
| 11 | PANEL-FRZR DOOR, ALMOND, W/INSULATION |
| 12 | WCI 218531606 |
| 13 | WCI 218249002 |
| 13 | WCI 218800300 |
| 14 | WCI 218915702 |
| 15 | PANEL-REFR DOOR, ALMOND, W/INSUL & BRACE |
| 18 | WCI 218397502 |
| 21 | 218252201 Frigidaire Refrigerator Screw |
| 22 | WCI 218519300 |
| 26 | WCI 3204522 |
| 58 | 218781101 Frigidaire Handle Screw |
| 72 | WCI 218397000 |
| 73 | 218396700 Frigidaire Door Handle Mounting Block |
| 74 | 215503203 Frigidaire Refrigerator Door Handle Screw |