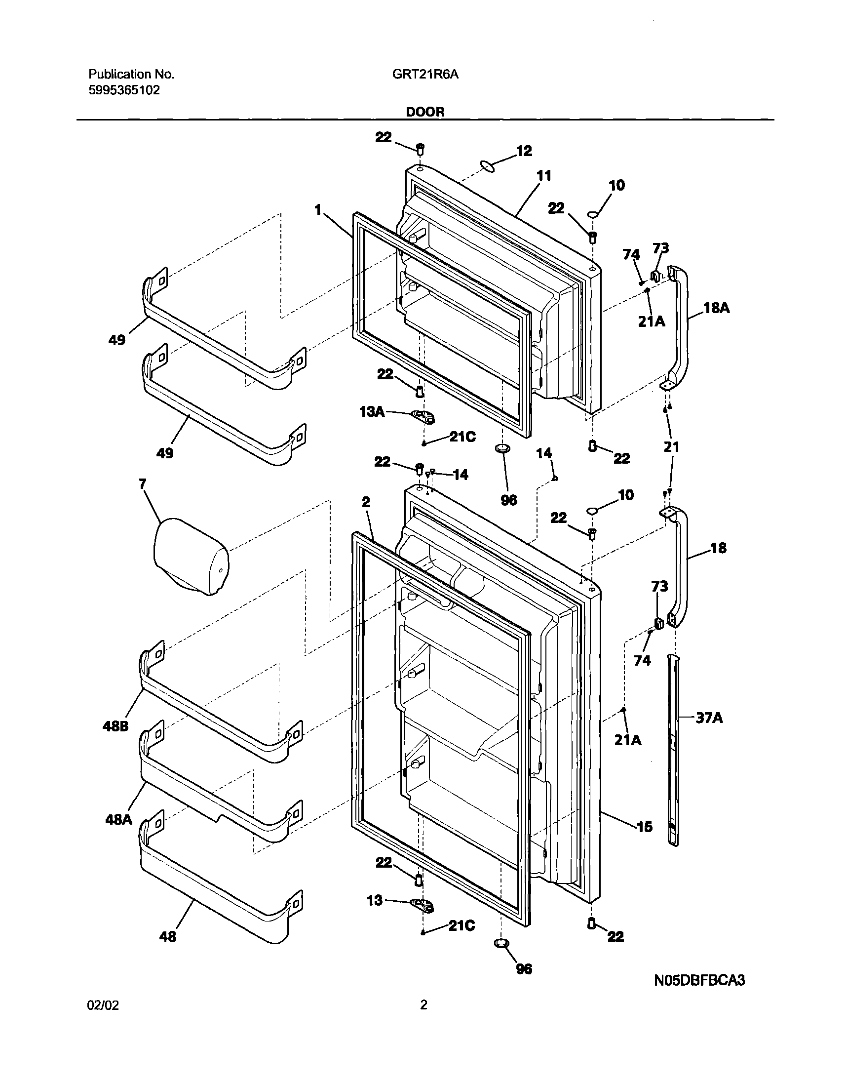
GRT21R6AW3 03 – DOOR