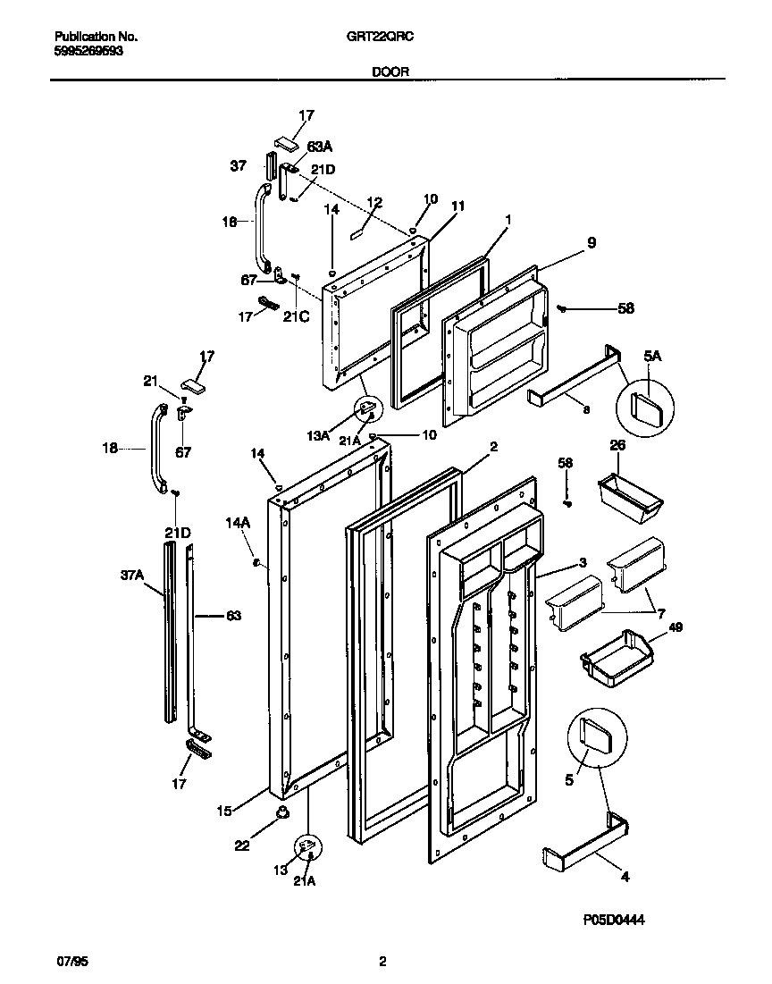
GRT22QRCW0 02 – DOOR