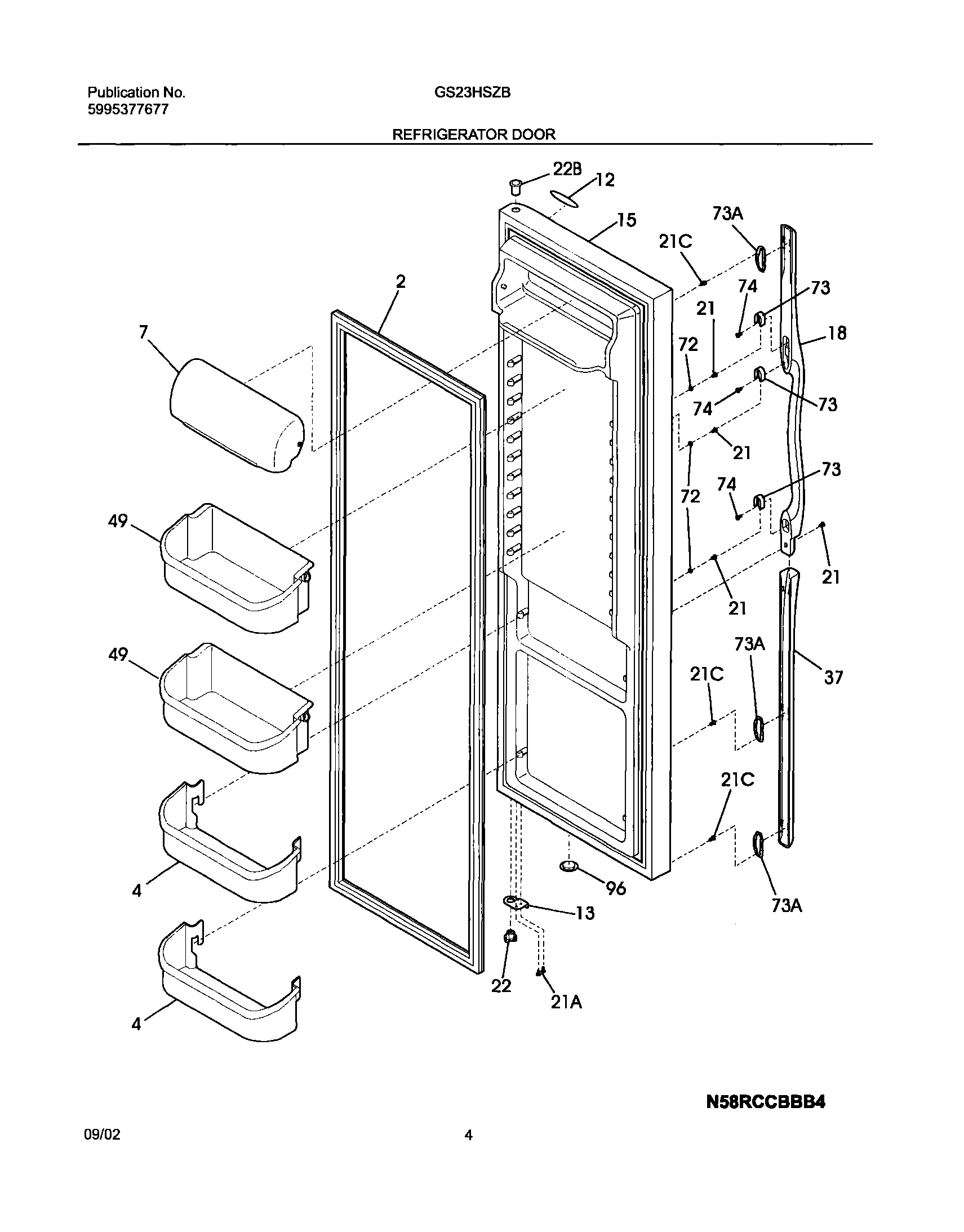
GS23HSZBB1 05 – REFRIGERATOR DOORadmin2025-04-26T10:21:14+00:00GS23HSZBB1 05 – REFRIGERATOR DOOR ProductsPositionProduct2GASKET-DOOR42 LITER DOOR BIN7240338313 Frigidaire Refrigerator Dairy Door12WCI 240449703135303918455 Frigidaire Refrigerator Adjustable Hinge Kit15WCI 24045191918Handle-door,black21C240521303 Frigidaire Refrigerator Screw21218781101 Frigidaire Handle Screw21A5304455650 Frigidaire Refrigerator Screw22240328201 Frigidaire Refrigerator Hinge Bearing22BBearing-hinge,upper37WCI 24035920349240324502 Frigidaire Gallon Door Shelf Bin72WCI 24042170173218396700 Frigidaire Door Handle Mounting Block73AWCI 73ANOTAVAIL74215503203 Frigidaire Refrigerator Door Handle Screw96WCI 240345506