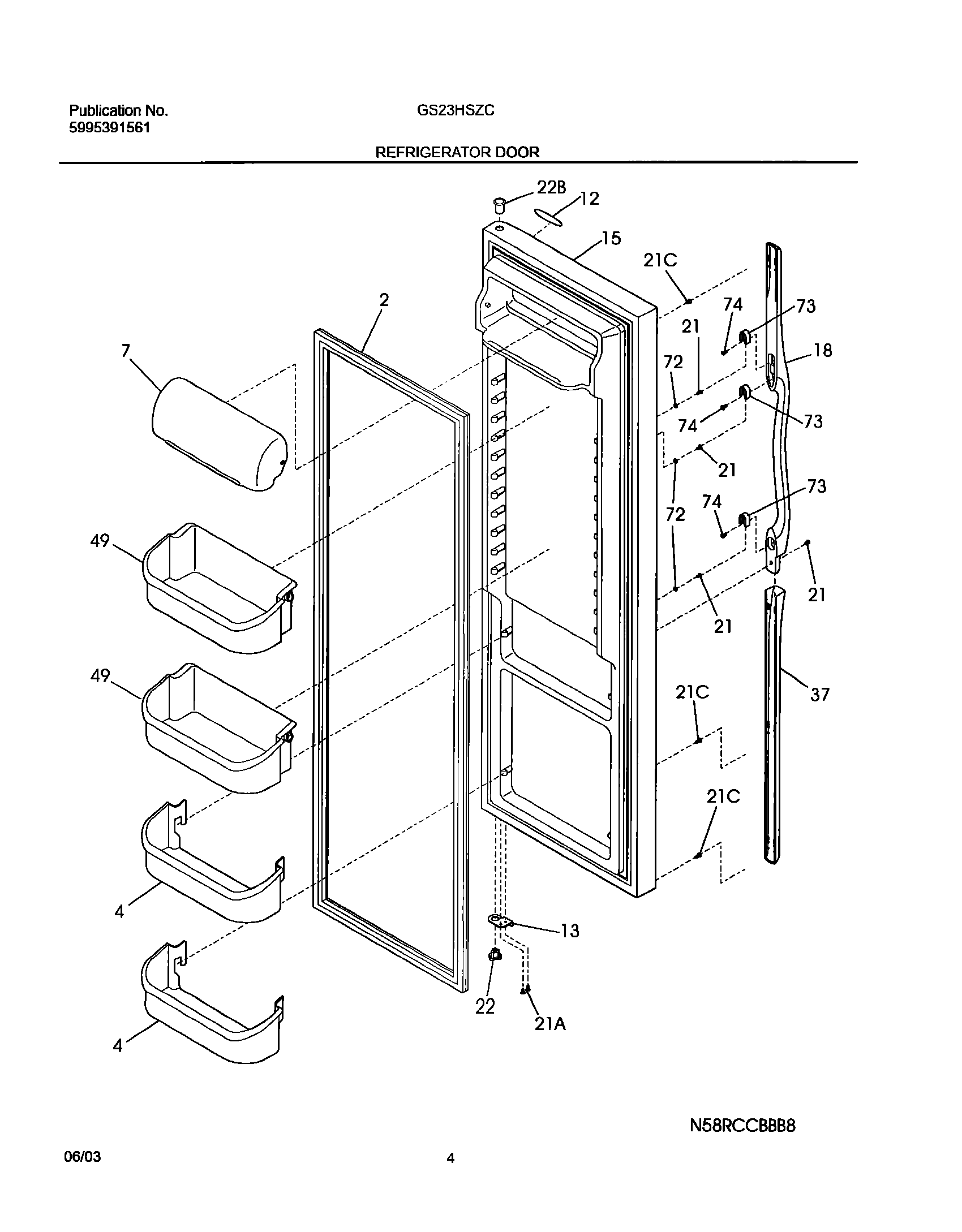
GS23HSZCC0 05 – REFRIGERATOR DOOR