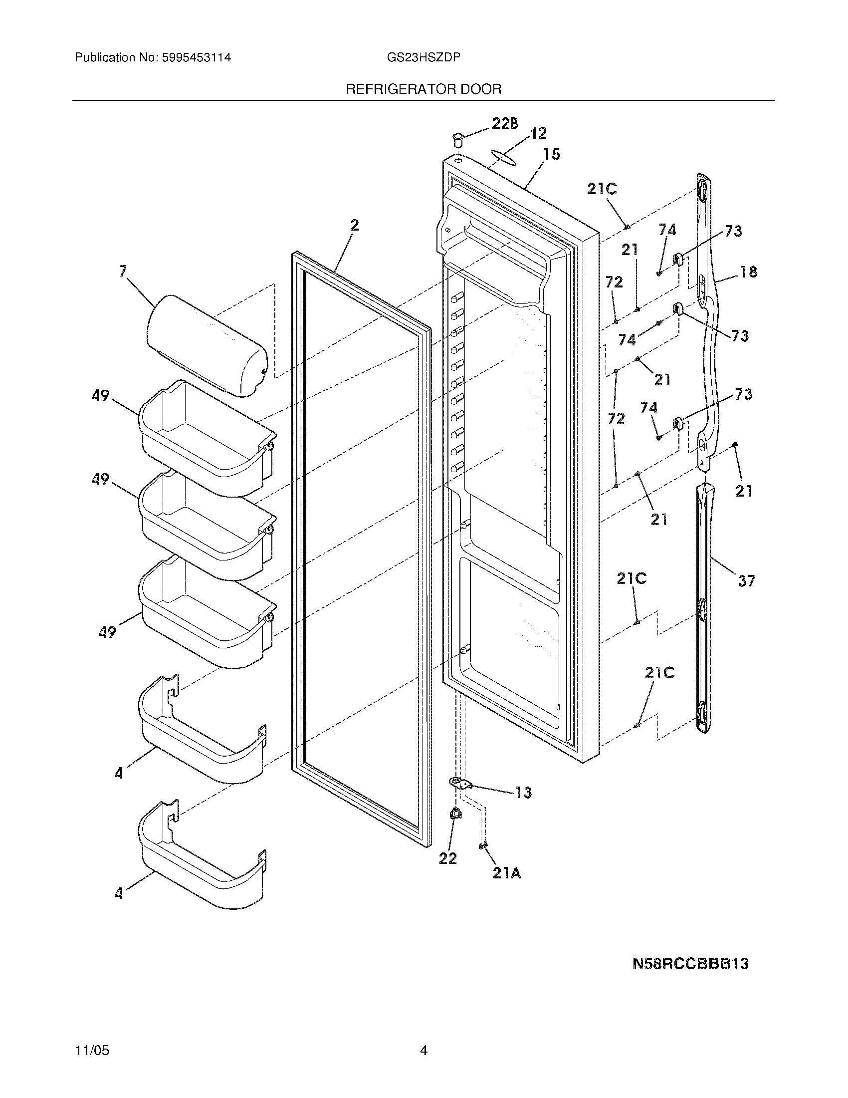
GS23HSZDPB6 05 – REFRIGERATOR DOORadmin2025-04-26T10:22:19+00:00GS23HSZDPB6 05 – REFRIGERATOR DOOR ProductsPositionProduct2GASKET-DOOR42 LITER DOOR BIN7240338313 Frigidaire Refrigerator Dairy Door12WCI 240449703135303918455 Frigidaire Refrigerator Adjustable Hinge Kit15WCI 24045199218Handle-door,black21CWCI 24052130221A5304455650 Frigidaire Refrigerator Screw21218781101 Frigidaire Handle Screw22BBearing-hinge,upper22240328203 Frigidaire Refrigerator Door Hinge Bearing37WCI 24035920349240324502 Frigidaire Gallon Door Shelf Bin72WCI 24042170173218396700 Frigidaire Door Handle Mounting Block74215503203 Frigidaire Refrigerator Door Handle Screw