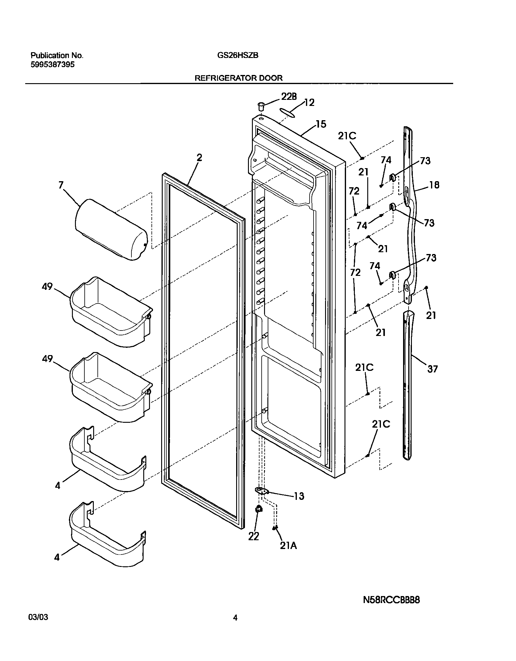
GS26HSZBC3 05 – REFRIGERATOR DOORadmin2025-04-26T10:22:09+00:00GS26HSZBC3 05 – REFRIGERATOR DOOR ProductsPositionProductNIWCI 2184909002241786013 Frigidaire Refrigerator Door Gasket4240323002 Frigidaire Bottom Clear Door Bin7WCI 24032620312WCI 240449704135303918455 Frigidaire Refrigerator Adjustable Hinge Kit15WCI 24045194218Handle-door,black21CWCI 24052130221A5304455650 Frigidaire Refrigerator Screw21218781101 Frigidaire Handle Screw22240328201 Frigidaire Refrigerator Hinge Bearing22BBearing-hinge,upper37WCI 24035920349240356402 Frigidaire Refrigerator Gallon Door Bin72WCI 24042170173218396700 Frigidaire Door Handle Mounting Block74215503203 Frigidaire Refrigerator Door Handle Screw