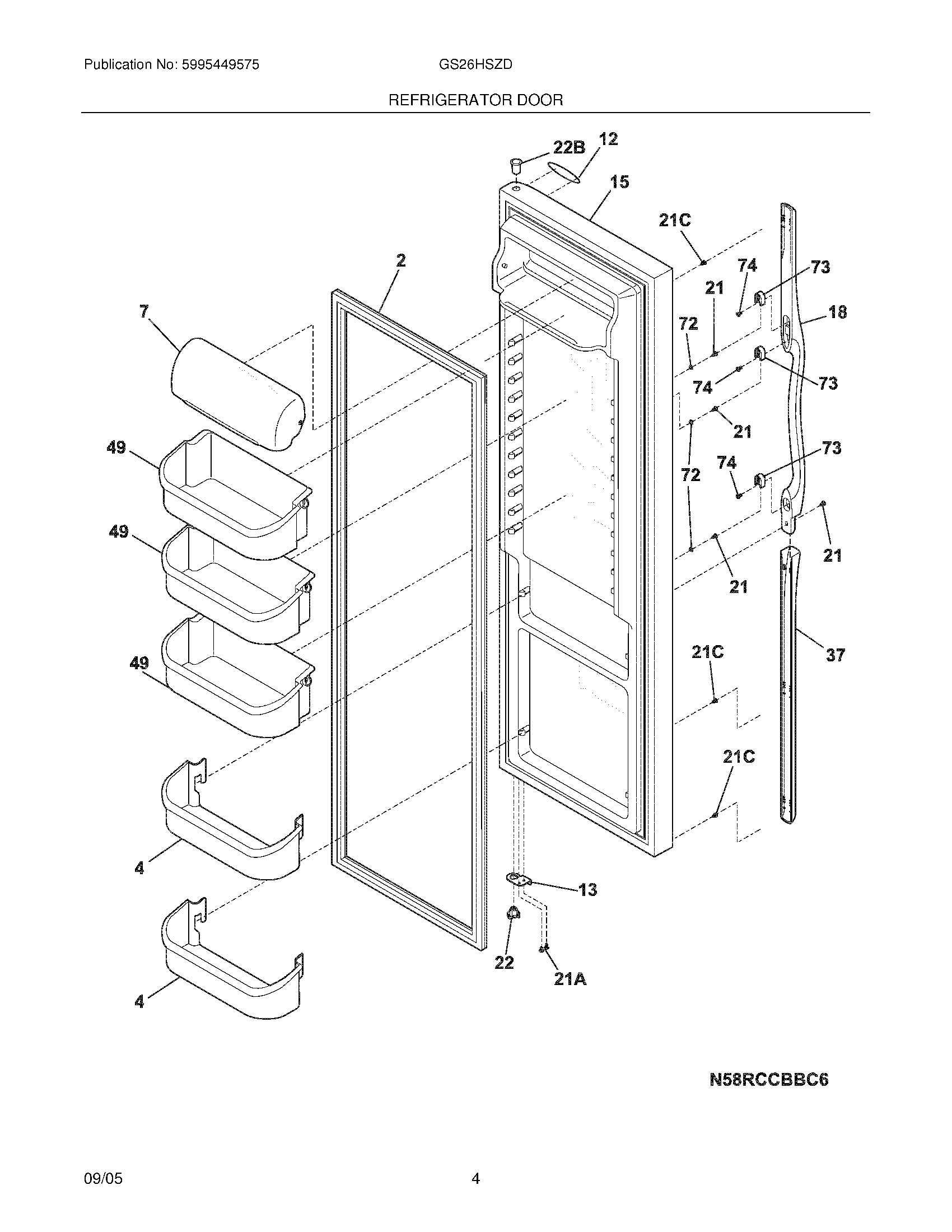
GS26HSZDC5 05 – REFRIGERATOR DOORadmin2025-04-26T10:22:40+00:00GS26HSZDC5 05 – REFRIGERATOR DOOR ProductsPositionProduct2241786013 Frigidaire Refrigerator Door Gasket4240323002 Frigidaire Bottom Clear Door Bin7WCI 24032620312WCI 24044970313240581905 Frigidaire Refrigerator Door Stop15WCI 24153451318Handle-door,black21218781101 Frigidaire Handle Screw21CWCI 24052130221A5304455650 Frigidaire Refrigerator Screw22B240328404 Frigidaire Refrigerator Upper Door Hinge Bearing22240328203 Frigidaire Refrigerator Door Hinge Bearing37WCI 24035920349240356402 Frigidaire Refrigerator Gallon Door Bin72WCI 24042170173218396700 Frigidaire Door Handle Mounting Block74215503203 Frigidaire Refrigerator Door Handle Screw