GS2SHAXSB03 11 – CONTROL PARTSadmin2025-04-26T11:02:56+00:00GS2SHAXSB03 11 – CONTROL PARTS
Products
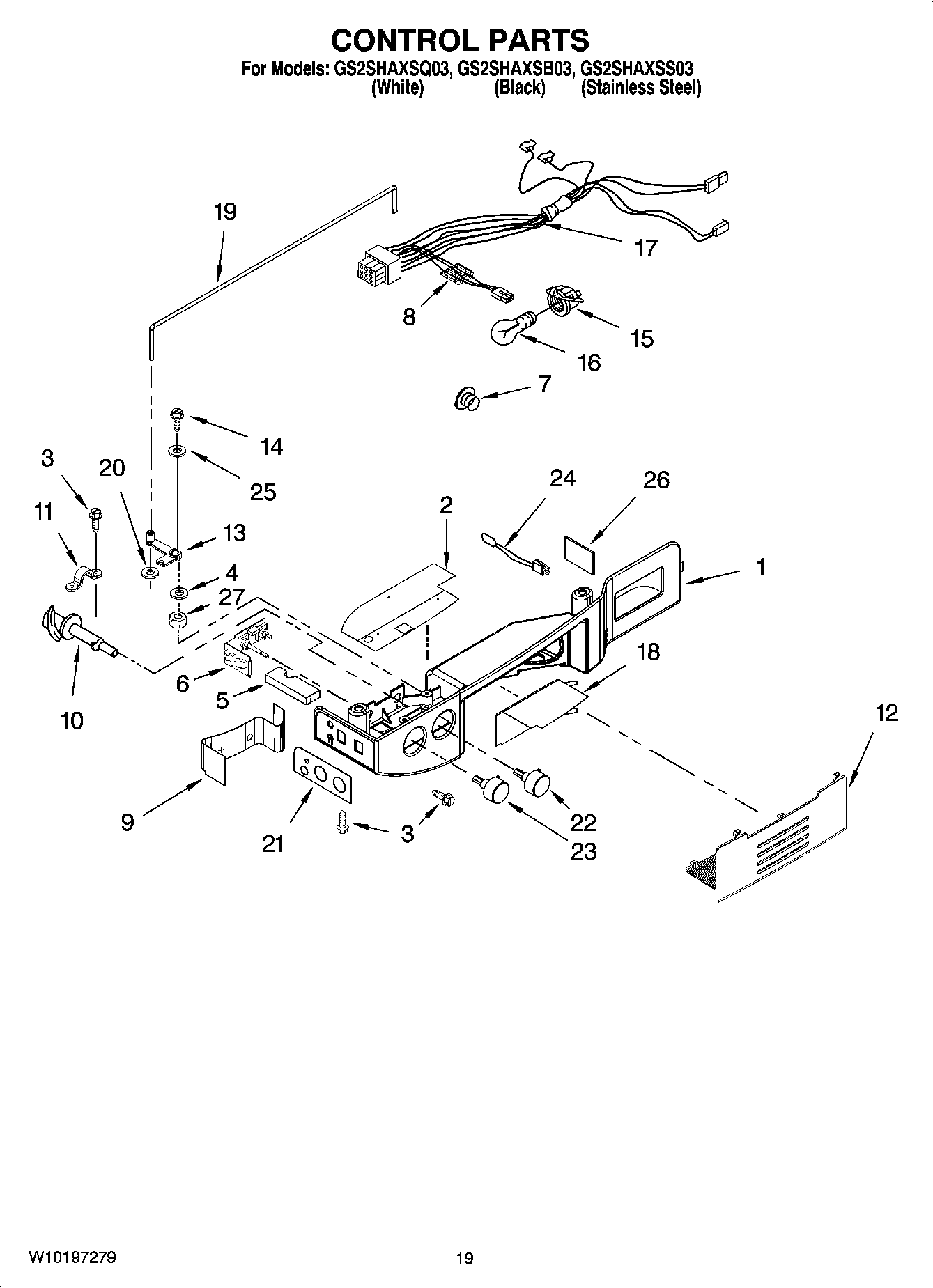
| Position | Product |
|---|
| 1 | Control Box |
| 2 | Shield |
| 3 | WP3196557 Whirlpool Screw |
| 4 | Washer |
| 5 | Foam, Shield |
| 6 | Electronic Control |
| 7 | 940014 Whirlpool Refrigerator Primary Button Plug |
| 8 | Ferrite Bead |
| 9 | Shield, Electrical (Internal) |
| 10 | Cam Assembly |
| 11 | Bearing Body |
| 12 | Lens, Light |
| 13 | Pivot Arm |
| 14 | 627068 Whirlpool Refrigerator Screw |
| 15 | 4387478 Whirlpool Refrigerator Light Socket |
| 16 | RANGE ONLY 40W 120V APPL BULB |
| 17 | Control Box Harness |
| 18 | Shield, Heat |
| 19 | Connecting Rod |
| 20 | Fastener, Push-On |
| 21 | Escutcheon, Control Box |
| 22 | Knob, RC |
| 23 | Knob, FC |
| 24 | WP2188819 Whirlpool Thermistor |
| 25 | 489203 Whirlpool Refrigerator Washer |
| 26 | Air Seal, Thermistor |
| 27 | Nut, Hex |