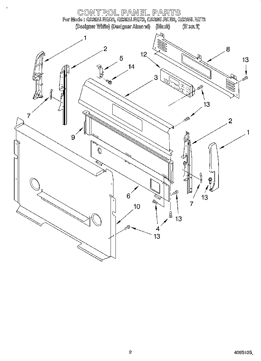
GS395LEGB3 02 – CONTROL PANEL