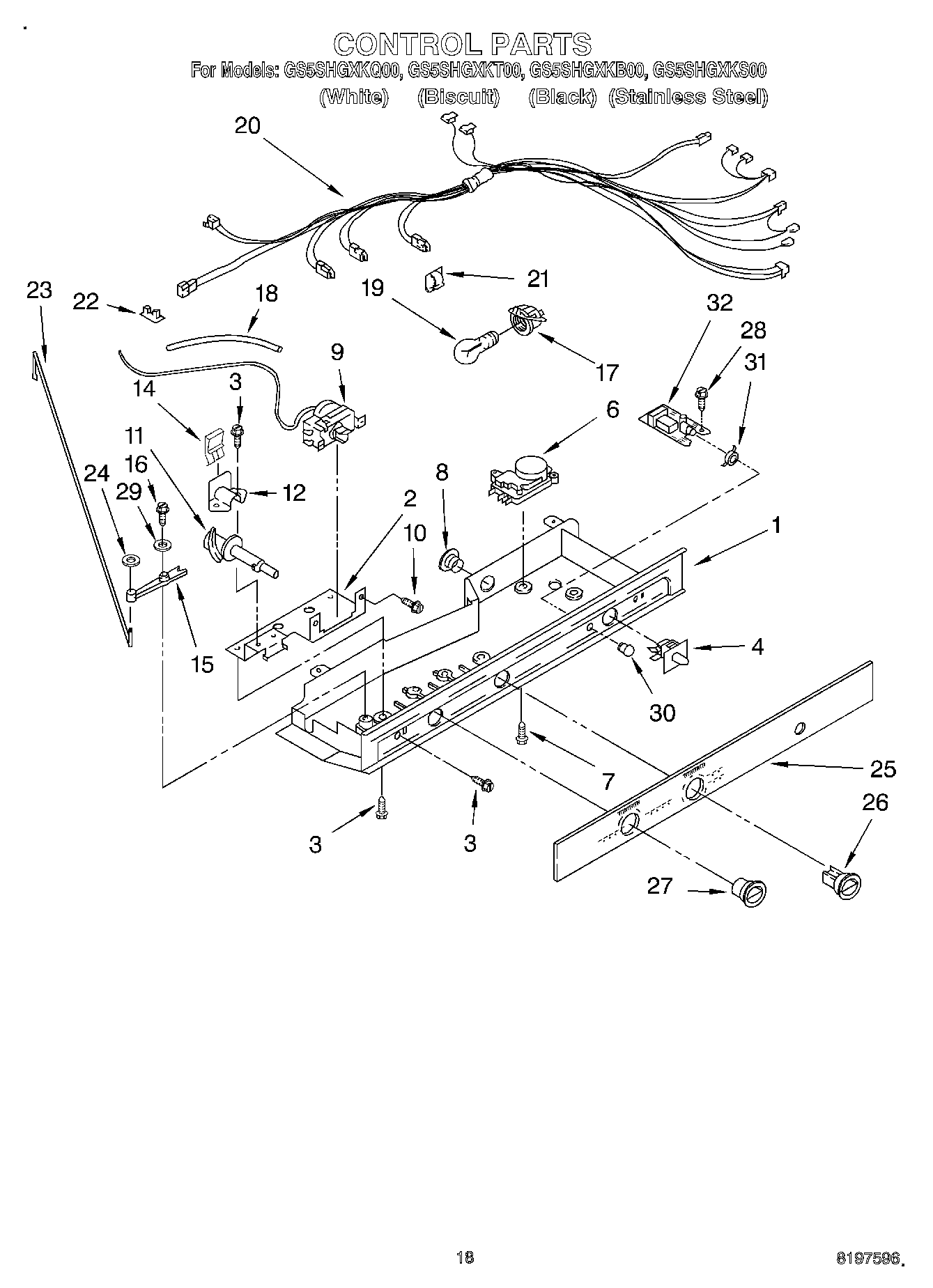
GS5SHGXKQ00 11 – CONTROL