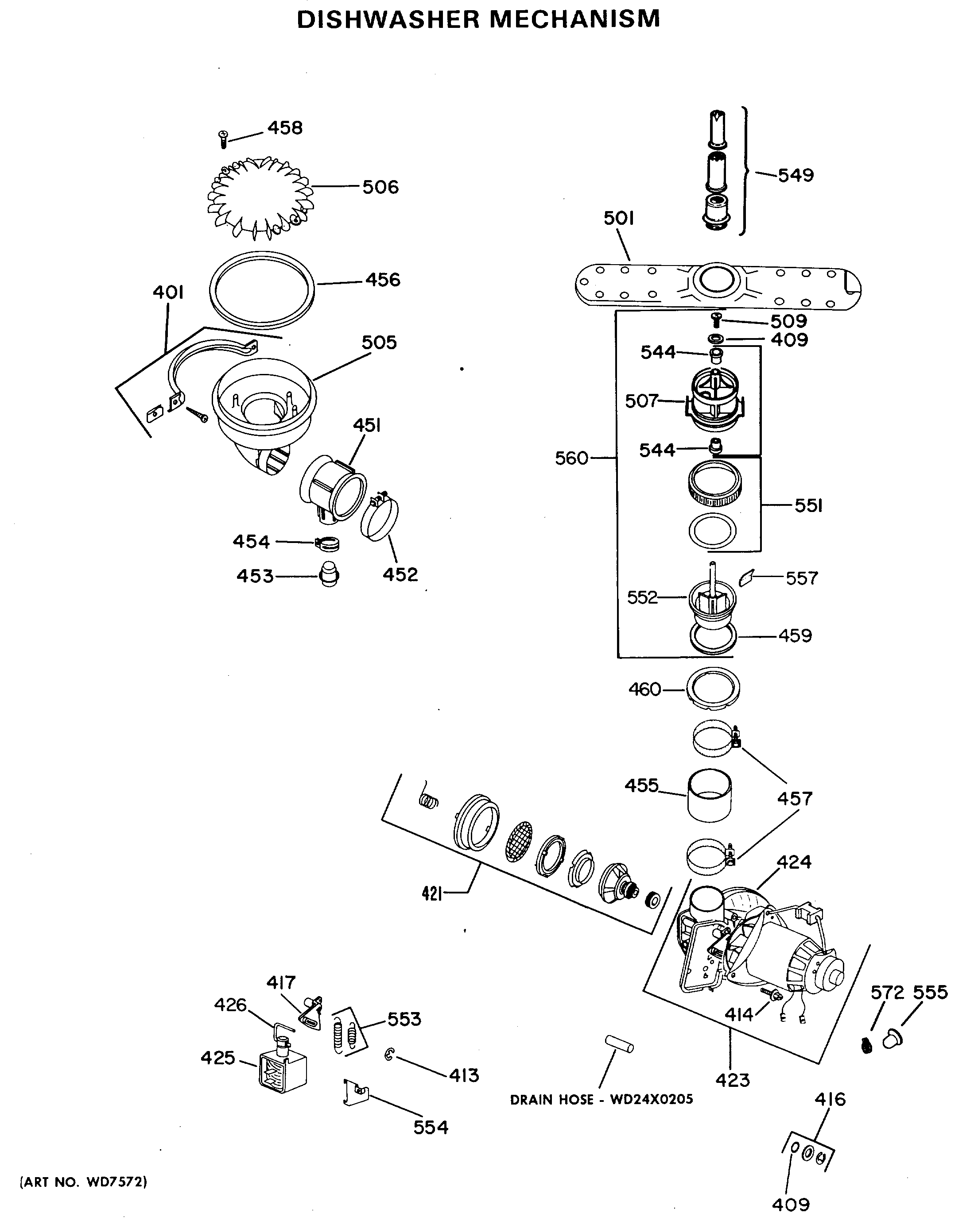
GSD579W-52 DISHWASHER MECHANISMadmin2025-04-26T08:51:38+00:00GSD579W-52 DISHWASHER MECHANISM ProductsPositionProduct401GEN WD01X1124401GEN WD01X1326409WASHER THRUST413WD3X487D GE Dishwasher Retainer Package414GEN WD02X5183416WD8X181 GE Dishwasher Pump Gasket417GEN WD12X0201421GEN WD17X0057423WD26X10013 GE Dishwasher Motor and Pump Assembly424GEN WD19X0049425GEN WD01X1282425WD21X802 GE Dishwasher Drain Solenoid426ARMATURE&LNK451GEN WD18X0180452WD1X1392 GE Dishwasher Sump Clamp453GEN WD12X0109455GEN WD18X0175456GEN WD08X0179457WD1X1376 GE Dishwasher Clamp458GEN WD02X0275459GEN WD08X5093460GEN WD03X0627501GEN WD22X5056505GEN WD12X0248506GEN WD12X0313507GEN WD22X0089509SCR 10-32X.300 TRUSS HD544BEARING SPRAY ARM549PS KIT POWER TOWER551GEN WD19X0044552GEN WD22X0114553WD3X721 GE Dishwasher Spring Set554GEN WD01X1283557CHECK VALVE560GEN WD22X0115572GEN WD24X0188572WH1X2036 GE UNIX Clamp